carb issues?
- Special KK
-
Topic Author
- Offline
- User
-

Registered
- Posts: 109
- Thanks: 3
carb issues?
17 Dec 2014 08:35
Dont know if anyone can help me on this issue but i recently acquired a 1982 KZ 750 LTD with Keihin type carbs.
The bike was running awful (feels like its lean as hell) and have replaced a few bits such as float bowl gaskets, and airbox rubbers as they were both leaking.
Took the Carbs off and they were gunked up fairly bad, although probably not the worst ive ever seen. I have had them off twice already and cleaned out all the jets, bowls and channels, but still seems to be some issues and have just taken them off again for another deep clean.
The bike wont rev much over 5-6k and the fuel screw has to be turned out to 3 and a half turns to get it to run or it splutters alot and tries to stall,
Also if you run it without the fuel screw turned out it will only run with lots of choke on. Its also bogs when you pull away sometimes which im sure is a classic lean symptom.
Ive checked float heights & all the channels seem to be blowing through, jets seem really clean now, its got stock airbox no modifications. Engine and elcetrical system all seems to be firing and running sweet and it will idle fairly well but no lower than 1500rpm, so im assuming this is still carb related? anyone have any advice for me on cleaning these kind of carbs out or perhaps im missing something to check etc? its running 35 main & 90 size jets, i think this is correct although i only have a haynes manual and its not that clear on sizes. its also a US import and have replaced all the vacuum and exhaust recycling sytem hosess just to make sure they wernt part of the problem.
Cheers
The bike was running awful (feels like its lean as hell) and have replaced a few bits such as float bowl gaskets, and airbox rubbers as they were both leaking.
Took the Carbs off and they were gunked up fairly bad, although probably not the worst ive ever seen. I have had them off twice already and cleaned out all the jets, bowls and channels, but still seems to be some issues and have just taken them off again for another deep clean.
The bike wont rev much over 5-6k and the fuel screw has to be turned out to 3 and a half turns to get it to run or it splutters alot and tries to stall,
Also if you run it without the fuel screw turned out it will only run with lots of choke on. Its also bogs when you pull away sometimes which im sure is a classic lean symptom.
Ive checked float heights & all the channels seem to be blowing through, jets seem really clean now, its got stock airbox no modifications. Engine and elcetrical system all seems to be firing and running sweet and it will idle fairly well but no lower than 1500rpm, so im assuming this is still carb related? anyone have any advice for me on cleaning these kind of carbs out or perhaps im missing something to check etc? its running 35 main & 90 size jets, i think this is correct although i only have a haynes manual and its not that clear on sizes. its also a US import and have replaced all the vacuum and exhaust recycling sytem hosess just to make sure they wernt part of the problem.
Cheers
2008 Aprilia Shiver SL750
1983 Kawasaki KZ750 LTD H4 Four cylinder
Previous bikes:
1999 Honda CBR 600 fx
1992 Kawasaki Zephyr 550b
1990 Honda CG 125
"All work and no play makes jack a dull boy"
1983 Kawasaki KZ750 LTD H4 Four cylinder
Previous bikes:
1999 Honda CBR 600 fx
1992 Kawasaki Zephyr 550b
1990 Honda CG 125
"All work and no play makes jack a dull boy"
Please Log in or Create an account to join the conversation.
- JR
-
- Offline
- Sustaining Member
-

Registered
- Posts: 2962
- Thanks: 481
Re: carb issues?
17 Dec 2014 11:13 - 17 Dec 2014 11:17
Hi
If the carbs were gunked up then some of the the jets especially the pilots are probably still blocked. Soaking isn't enough and if not done already then you will need to poke through the jets and passage ways with a fine wire or guitar string.
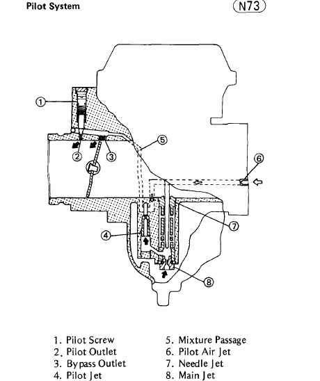
Pay special attention to to the pilot system shown in the schematic below (BS 34 carb I think but close enough to the Keihin CV34) and make sure you can spray carb cleaner in at 4 and have it exit at #3. There are 3 holes at #3 and you will need to operate the throttle flap/buttelfly just a bit to be able to see them. Wear eye protection when spraying carb cleaner !
Since the bike is new to you there are a few other things you could check while you plan to have the carbs off.. Start with a search here for "clear tube method" for checking fuel level in the carbs. Check the carb diaphragms for holes. Make sure all the right bits are there like caps over the pilot jets
Good luck. It will be worth it in the end
PS Get a fuel filter if you dont have one and and check if the vent in the gas cap is blocked - try running with the cap open. Petcock blocked ?
If the carbs were gunked up then some of the the jets especially the pilots are probably still blocked. Soaking isn't enough and if not done already then you will need to poke through the jets and passage ways with a fine wire or guitar string.
Pay special attention to to the pilot system shown in the schematic below (BS 34 carb I think but close enough to the Keihin CV34) and make sure you can spray carb cleaner in at 4 and have it exit at #3. There are 3 holes at #3 and you will need to operate the throttle flap/buttelfly just a bit to be able to see them. Wear eye protection when spraying carb cleaner !
Since the bike is new to you there are a few other things you could check while you plan to have the carbs off.. Start with a search here for "clear tube method" for checking fuel level in the carbs. Check the carb diaphragms for holes. Make sure all the right bits are there like caps over the pilot jets
Good luck. It will be worth it in the end
PS Get a fuel filter if you dont have one and and check if the vent in the gas cap is blocked - try running with the cap open. Petcock blocked ?
1980 kz750E1, Delkevic exhaust
Attachments:
Last edit: 17 Dec 2014 11:17 by JR.
Please Log in or Create an account to join the conversation.
- Special KK
-
Topic Author
- Offline
- User
-

Registered
- Posts: 109
- Thanks: 3
Re: carb issues?
17 Dec 2014 11:35 - 17 Dec 2014 11:36JR wrote: Hi
If the carbs were gunked up then some of the the jets especially the pilots are probably still blocked. Soaking isn't enough and if not done already then you will need to poke through the jets and passage ways with a fine wire or guitar string.
Pay special attention to to the pilot system shown in the schematic below (BS 34 carb I think but close enough to the Keihin CV34) and make sure you can spray carb cleaner in at 4 and have it exit at #3. There are 3 holes at #3 and you will need to operate the throttle flap/buttelfly just a bit to be able to see them. Wear eye protection when spraying carb cleaner !
Since the bike is new to you there are a few other things you could check while you plan to have the carbs off.. Start with a search here for "clear tube method" for checking fuel level in the carbs. Check the carb diaphragms for holes. Make sure all the right bits are there like caps over the pilot jets
Good luck. It will be worth it in the end
PS Get a fuel filter if you dont have one and and check if the vent in the gas cap is blocked - try running with the cap open. Petcock blocked ?
Hi, Thanks for the help,
Ive poked the jets through already on first clean with some nylon wire and can see daylight through all holes etc, there was however a small hole on one of the diaphragms which i have managed to repair with a small amount of silicone and seems to be holding well but i will try to replace this asap, they seem to be quite hard to come by however and quite expensive to replace! on ebay seem to be going for around 50 quid for just one so can understand why ive tried to repair it for now
I've also done the clear tube method for the float bowls and they levels seem to be sitting just at the point of where the top of the bowl screw heads are which seems to be a good level to me?
I will make sure the #3 to #4 channels are clear and check that tomorrow. The pilot caps are in place and seat ok but if these were slightly loose would that cause noticeable problems if fuel was leaking past?
I will also try running her with the tank cap open, i did put a fresh inline fuel filter in and drained the tank of the old petrol and also checked the fuel tap and filter which were both spotless.
Ill see how it goes and report back,
Cheers
2008 Aprilia Shiver SL750
1983 Kawasaki KZ750 LTD H4 Four cylinder
Previous bikes:
1999 Honda CBR 600 fx
1992 Kawasaki Zephyr 550b
1990 Honda CG 125
"All work and no play makes jack a dull boy"
1983 Kawasaki KZ750 LTD H4 Four cylinder
Previous bikes:
1999 Honda CBR 600 fx
1992 Kawasaki Zephyr 550b
1990 Honda CG 125
"All work and no play makes jack a dull boy"
Last edit: 17 Dec 2014 11:36 by Special KK.
The following user(s) said Thank You: Randombeat
Please Log in or Create an account to join the conversation.
- JR
-
- Offline
- Sustaining Member
-

Registered
- Posts: 2962
- Thanks: 481
Re: carb issues?
17 Dec 2014 12:21 - 17 Dec 2014 12:26Ive poked the jets through already on first clean with some nylon wire and can see daylight through all holes etc,
It sounds like you have been very thorough so hopefully you are almost there and the problem is with the pilot system - it took me 2 months to figure that out and fix it when i got my bike first 11 years ago
there was however a small hole on one of the diaphragms which i have managed to repair with a small amount of silicone and seems to be holding well but i will try to replace this asap, they seem to be quite hard to come by however and quite expensive to replace! on ebay seem to be going for around 50 quid for just one so can understand why ive tried to repair it for now
Most home diaphragm repairs seem to be temporary. Some people have reported varying degrees of success using superglue or that stuff used to dip tool handles. Here is a link I bookmarked a few years ago jbmindustries.com/ and they should be able to help and I doubt shipping to the UK would be excessive. I remember there was a similar type company in the UK and you had to send them you old slide and diaphragm and they would fir a new diaphragm or send you a replacement but I also seem to remember they were a bit on the expensive side.
I've also done the clear tube method for the float bowls and they levels seem to be sitting just at the point of where the top of the bowl screw heads are which seems to be a good level to me?
Excellent ! I did find that actual measurement rather than eyeball was critical but if level at the screw top then that sure does sound like 4mm plus or minus 1.
The pilot caps are in place and seat ok but if these were slightly loose would that cause noticeable problems if fuel was leaking past?
If the caps are snug they should be fine. Hard to say what would happen if they were loose. For sure I know if they fall out then my bike wont start :laugh:
One last thing. Is there any evidence that the previous owner has messed with the carbs ? Are the jets the stock sizes ? jet size is usually stamped on the jet and with my eyesight I need a magnifying glass to see it
1980 kz750E1, Delkevic exhaust
Last edit: 17 Dec 2014 12:26 by JR.
Please Log in or Create an account to join the conversation.
- Zephyrrider
-
- Offline
- User
-

Registered
- Posts: 586
- Thanks: 50
Re: carb issues?
17 Dec 2014 12:30
Had same problem with diaphram about 15 years ago - small tear on edge(a few mm's)- Sikaflex fixed it. Black flexible stuff - cant remember if it was expensive but it will work if your silicone fails until you can get a new one.
Mick
1994 ZR750 Zephyr C4.
1994 ZR750 Zephyr C4.
Please Log in or Create an account to join the conversation.
- JR
-
- Offline
- Sustaining Member
-

Registered
- Posts: 2962
- Thanks: 481
Please Log in or Create an account to join the conversation.
- Zephyrrider
-
- Offline
- User
-

Registered
- Posts: 586
- Thanks: 50
Re: carb issues?
17 Dec 2014 13:26 - 17 Dec 2014 13:28
Cheers for the carb site JR - still save heaps even with international post. A diaphram for mine here is near the $200 mark - @$50 at NRP and @$20 post. $140 at bike bandit.
Mick
1994 ZR750 Zephyr C4.
1994 ZR750 Zephyr C4.
Last edit: 17 Dec 2014 13:28 by Zephyrrider.
Please Log in or Create an account to join the conversation.
- JR
-
- Offline
- Sustaining Member
-

Registered
- Posts: 2962
- Thanks: 481
Re: carb issues?
17 Dec 2014 15:24 - 17 Dec 2014 15:24Cheers for the carb site JR - still save heaps even with international post. A diaphram for mine here is near the $200 mark - @$50 at NRP and @$20 post. $140 at bike bandit.
Happy to help
1980 kz750E1, Delkevic exhaust
Last edit: 17 Dec 2014 15:24 by JR.
The following user(s) said Thank You: Zephyrrider
Please Log in or Create an account to join the conversation.
- Special KK
-
Topic Author
- Offline
- User
-

Registered
- Posts: 109
- Thanks: 3
Re: carb issues?
17 Dec 2014 23:15 - 18 Dec 2014 00:32
I
Yea I was wondering that I just checked the jet sizes with the Haynes manual but it seems that the jet sizes I have are for the 'n1' keihin carbs? ie #65 for primary jet and #90 for secondary main jet, I couldn't find any other numbers on the other jets though. I'm pretty sure mine is a H model though where it states the jets are meant to be 65 main & 125 secondary respectively but I'm not entirely sure as I don't have much in the way of documents for the bike to tell me what model it is, is there a simple way of finding out what model mine may be? Probably a silly question but If the jet is meant to be 125 instead of 90 would that make the bike currently leaner or richer do you think? Leaner I would assume? Which would perhaps make sense.
Cheers for the diaphragm link too
JR wrote:Ive poked the jets through already on first clean with some nylon wire and can see daylight through all holes etc,
It sounds like you have been very thorough so hopefully you are almost there and the problem is with the pilot system - it took me 2 months to figure that out and fix it when i got my bike first 11 years ago
there was however a small hole on one of the diaphragms which i have managed to repair with a small amount of silicone and seems to be holding well but i will try to replace this asap, they seem to be quite hard to come by however and quite expensive to replace! on ebay seem to be going for around 50 quid for just one so can understand why ive tried to repair it for now
Most home diaphragm repairs seem to be temporary. Some people have reported varying degrees of success using superglue or that stuff used to dip tool handles. Here is a link I bookmarked a few years ago jbmindustries.com/ and they should be able to help and I doubt shipping to the UK would be excessive. I remember there was a similar type company in the UK and you had to send them you old slide and diaphragm and they would fir a new diaphragm or send you a replacement but I also seem to remember they were a bit on the expensive side.
I've also done the clear tube method for the float bowls and they levels seem to be sitting just at the point of where the top of the bowl screw heads are which seems to be a good level to me?
Excellent ! I did find that actual measurement rather than eyeball was critical but if level at the screw top then that sure does sound like 4mm plus or minus 1.
The pilot caps are in place and seat ok but if these were slightly loose would that cause noticeable problems if fuel was leaking past?
If the caps are snug they should be fine. Hard to say what would happen if they were loose. For sure I know if they fall out then my bike wont start :laugh:
One last thing. Is there any evidence that the previous owner has messed with the carbs ? Are the jets the stock sizes ? jet size is usually stamped on the jet and with my eyesight I need a magnifying glass to see it
Yea I was wondering that I just checked the jet sizes with the Haynes manual but it seems that the jet sizes I have are for the 'n1' keihin carbs? ie #65 for primary jet and #90 for secondary main jet, I couldn't find any other numbers on the other jets though. I'm pretty sure mine is a H model though where it states the jets are meant to be 65 main & 125 secondary respectively but I'm not entirely sure as I don't have much in the way of documents for the bike to tell me what model it is, is there a simple way of finding out what model mine may be? Probably a silly question but If the jet is meant to be 125 instead of 90 would that make the bike currently leaner or richer do you think? Leaner I would assume? Which would perhaps make sense.
Cheers for the diaphragm link too
2008 Aprilia Shiver SL750
1983 Kawasaki KZ750 LTD H4 Four cylinder
Previous bikes:
1999 Honda CBR 600 fx
1992 Kawasaki Zephyr 550b
1990 Honda CG 125
"All work and no play makes jack a dull boy"
1983 Kawasaki KZ750 LTD H4 Four cylinder
Previous bikes:
1999 Honda CBR 600 fx
1992 Kawasaki Zephyr 550b
1990 Honda CG 125
"All work and no play makes jack a dull boy"
Last edit: 18 Dec 2014 00:32 by Special KK.
Please Log in or Create an account to join the conversation.
- Special KK
-
Topic Author
- Offline
- User
-

Registered
- Posts: 109
- Thanks: 3
Re: carb issues?
17 Dec 2014 23:27 - 18 Dec 2014 01:28
This is odd I've checked what the n1 model is and its the spectre, which my bike is definitely not. Could the Haynes manual be wrong on the listings for the jet sizes? Does anyone perhaps have a manual for the 1982 kz 750 ltd H model with correct jets sizes or know of a site I can check to find them out? Perhaps it had carbs from a spectre put on at a later date is all i can think of.
Cheers
Cheers
2008 Aprilia Shiver SL750
1983 Kawasaki KZ750 LTD H4 Four cylinder
Previous bikes:
1999 Honda CBR 600 fx
1992 Kawasaki Zephyr 550b
1990 Honda CG 125
"All work and no play makes jack a dull boy"
1983 Kawasaki KZ750 LTD H4 Four cylinder
Previous bikes:
1999 Honda CBR 600 fx
1992 Kawasaki Zephyr 550b
1990 Honda CG 125
"All work and no play makes jack a dull boy"
Last edit: 18 Dec 2014 01:28 by Special KK.
Please Log in or Create an account to join the conversation.
- Special KK
-
Topic Author
- Offline
- User
-

Registered
- Posts: 109
- Thanks: 3
Re: carb issues?
18 Dec 2014 00:54
I've also just realised that the bike seems to have been imported from the States quite recently, which previous owner didn't mention, it was from a dealership. So wondering if its US import would that have something to do with the odd jetting maybe?
2008 Aprilia Shiver SL750
1983 Kawasaki KZ750 LTD H4 Four cylinder
Previous bikes:
1999 Honda CBR 600 fx
1992 Kawasaki Zephyr 550b
1990 Honda CG 125
"All work and no play makes jack a dull boy"
1983 Kawasaki KZ750 LTD H4 Four cylinder
Previous bikes:
1999 Honda CBR 600 fx
1992 Kawasaki Zephyr 550b
1990 Honda CG 125
"All work and no play makes jack a dull boy"
Please Log in or Create an account to join the conversation.
- Special KK
-
Topic Author
- Offline
- User
-

Registered
- Posts: 109
- Thanks: 3
Re: carb issues?
18 Dec 2014 06:11
Right, so went to local bike salvage place managed to find some 132 main jets, closest they had to 125's and better than keeping the 90's on there so thought id give them a go as they were cheap anyway. Cleaned absolutely everything out on the carbs, all jets and channels and the all important pilot channel are now blowing through nicely. Put it all back on the bike, double checked everything over and its idleing pretty good now around 1000rpm and pulls a bit better at bottom end, bit smoother etc. But it still wont bloody go over those 6k revs and thats the same for when its standing in neutral also. Does this now mean that the problem is most likely an engine or electrical related issue perhaps?
Im thinking of pulling the rocker cover next and checking the valve clearances, im not sure if these are the kind of symptoms for valves? the bike only has (unverifiable) 18,000 mileage on it.
Any ideas on what else it could be? if it was ignition system or electrical it would just be all over the place i imagine and symptoms would be sporadic etc? the sparks seem to be consisitent and constant when revved in neutral with spark plug checker things.
Cheers, KK
Im thinking of pulling the rocker cover next and checking the valve clearances, im not sure if these are the kind of symptoms for valves? the bike only has (unverifiable) 18,000 mileage on it.
Any ideas on what else it could be? if it was ignition system or electrical it would just be all over the place i imagine and symptoms would be sporadic etc? the sparks seem to be consisitent and constant when revved in neutral with spark plug checker things.
Cheers, KK
2008 Aprilia Shiver SL750
1983 Kawasaki KZ750 LTD H4 Four cylinder
Previous bikes:
1999 Honda CBR 600 fx
1992 Kawasaki Zephyr 550b
1990 Honda CG 125
"All work and no play makes jack a dull boy"
1983 Kawasaki KZ750 LTD H4 Four cylinder
Previous bikes:
1999 Honda CBR 600 fx
1992 Kawasaki Zephyr 550b
1990 Honda CG 125
"All work and no play makes jack a dull boy"
Please Log in or Create an account to join the conversation.
Moderators: Street Fighter LTD
