carb issues?
- JR
-
- Offline
- Sustaining Member
-

Registered
- Posts: 2964
- Thanks: 482
Re: carb issues?
08 Jan 2015 15:54 - 08 Jan 2015 15:56Will check valves and need to check timing too, think i checked coils already although doesnt seem like electrical problem because i checked the sparks with an inline spark tester and seemed to be firing pretty solidly and consistently, but i will double check these.
If you have not done it already then checking the advancer berhind the timing plate and making sure it is lubed up the pieces and springs are moving freely would very definitely be good. I think you may have done this though. The timing should be set from the factory and nothing to do there.
Many old bikes lose voltage between the battery and the ignition coils leading to poor spark.When checking coils try unhook the red lead from coil and connect a meter between the red and the frame or motor and see what volts read. In theory you should see 12 volts DC but less than 11 could be a problem with spark quality.
i can get some replacement N01A's from NRP carb specialists up North who were recommended to me by Z-power, I was wondering what do you think would happen if i changed them and the needles were seated loosely in the needle jet seats due to slightly thinner taper? would it be a case of fuel getting sucked up past them at idle and putting the whole system out of sync perhaps or do you think it wouldnt make much difference? it doesnt seem to be a very tightly sealed part of the carbs when you think that the needle jet just sits inside the jet needle without an o-ring or whatever.
Might well be worth a shot if not to expensive and while i could speculate as to what would happen I honestly dont know. I`m just an old amateur who got back into bikes after many years and got to know my own carbs after wasting a lot of $ on so called experts. I bought mine 11 years ago and spent the first 3 months trying to get the carbs right, eventually succeeding.
1980 kz750E1, Delkevic exhaust
Last edit: 08 Jan 2015 15:56 by JR.
Please Log in or Create an account to join the conversation.
- sampeeter
-
- Offline
- User
-

Registered
- Posts: 15
- Thanks: 0
Re: carb issues?
09 Jan 2015 02:10
Problem
Carburetor out of adjustment
Engine will not idle
Idle speed is excessive
Solution
Check for bent choke and throttle plates
Carburetor out of adjustment
Engine will not idle
Idle speed is excessive
Solution
Check for bent choke and throttle plates
Please Log in or Create an account to join the conversation.
- Special KK
-
Topic Author
- Offline
- User
-

Registered
- Posts: 109
- Thanks: 3
Re: carb issues?
09 Jan 2015 02:42
I'm getting 12.45 off the battery without engine on, and strangely not getting any reading with 20v setting on the ohm meter from either black or red to the plug cap or to any part of frame or engine?
Also at risk of sounding a bit stupid and newbie here is timing advancer only on kick start engines? Mine is electric start only and can't seem to find where the advancer cover is, right hand side lower panel with kawaksaki on it perhaps?
Cheers
Also at risk of sounding a bit stupid and newbie here is timing advancer only on kick start engines? Mine is electric start only and can't seem to find where the advancer cover is, right hand side lower panel with kawaksaki on it perhaps?
Cheers
2008 Aprilia Shiver SL750
1983 Kawasaki KZ750 LTD H4 Four cylinder
Previous bikes:
1999 Honda CBR 600 fx
1992 Kawasaki Zephyr 550b
1990 Honda CG 125
"All work and no play makes jack a dull boy"
1983 Kawasaki KZ750 LTD H4 Four cylinder
Previous bikes:
1999 Honda CBR 600 fx
1992 Kawasaki Zephyr 550b
1990 Honda CG 125
"All work and no play makes jack a dull boy"
Please Log in or Create an account to join the conversation.
- Special KK
-
Topic Author
- Offline
- User
-

Registered
- Posts: 109
- Thanks: 3
Re: carb issues?
09 Jan 2015 02:56 - 09 Jan 2015 02:58
Realised volts was wrong setting doh. I'm getting 2.5ohms on left and 2.9 ohms on right for primary readings, on secondary readings I can't get anything on both coils even without the plug leads on and direct into coil. Wonder if this then means my coils are shot? I'm doing secondary readings on the 20k ohm setting and primary on 200 ohm, im pretty sure these are the right settings on volt meter now.
2008 Aprilia Shiver SL750
1983 Kawasaki KZ750 LTD H4 Four cylinder
Previous bikes:
1999 Honda CBR 600 fx
1992 Kawasaki Zephyr 550b
1990 Honda CG 125
"All work and no play makes jack a dull boy"
1983 Kawasaki KZ750 LTD H4 Four cylinder
Previous bikes:
1999 Honda CBR 600 fx
1992 Kawasaki Zephyr 550b
1990 Honda CG 125
"All work and no play makes jack a dull boy"
Last edit: 09 Jan 2015 02:58 by Special KK.
Please Log in or Create an account to join the conversation.
- Patton
-
- Offline
- KZr Legend
-

Registered
- Posts: 18567
- Thanks: 2103
Re: carb issues?
09 Jan 2015 07:11 - 09 Jan 2015 08:32
With ignition switched ON, engine running or engine not running, voltage being received at the coil primary terminal should ideally be equal to the battery's voltage as measured across the battery posts (terminals).
Perhaps these illustrations will help indicate where to measure the coil's receipt of voltage when the ignition is switched ON.
If there's a significant voltage loss somewhere between the battery and the coil primary terminal, here are are some places to measure for possible site of the voltage loss.
Good Fortune!
Perhaps these illustrations will help indicate where to measure the coil's receipt of voltage when the ignition is switched ON.
If there's a significant voltage loss somewhere between the battery and the coil primary terminal, here are are some places to measure for possible site of the voltage loss.
Good Fortune!
1973 Z1
KZ900 LTD
KZ900 LTD
Last edit: 09 Jan 2015 08:32 by Patton.
Please Log in or Create an account to join the conversation.
- Patton
-
- Offline
- KZr Legend
-

Registered
- Posts: 18567
- Thanks: 2103
Last edit: 09 Jan 2015 07:20 by Patton.
Please Log in or Create an account to join the conversation.
- JR
-
- Offline
- Sustaining Member
-

Registered
- Posts: 2964
- Thanks: 482
Re: carb issues?
09 Jan 2015 08:18 - 09 Jan 2015 08:22is timing advancer only on kick start engines? Mine is electric start only and can't seem to find where the advancer cover is, right hand side lower panel with kawaksaki on it perhaps?
Yep
Right had side as you are sitting on the bike shiny CD sized cover with Kawasaki on it. held on by 2 screws. Take it off and you will see a brass plate with 2 black thingies onit. These are the pulse coils for your electronic ignition. They send signal to the coils telling them when to fire. The timing advancer is behind this plate. Remove the 3 screw which hold this timing plate and you will see the advance. It looks something like this
When the engine runs and the crank turns faster and faster the 2 movable pieces on the advancer move outwards and advance the timing. Maximum advance is usually about 3 or 4000 rpm but definitely worth a look. If crud covered and the springs are stuck it should be cleaned and lubed. Patton has better pics of this
Check your Haynes manual. Also see here mbsween.bike-night.com/kz750l3/manual.html for a factory manual. It wont be exact for your model but good enough for most things
Check manual before taking a wrench to either of the nuts in the photo. If you need to remove the advancer loosen the small nut and if you need to turn the crank use the larger nut only and please double check what I just said
1980 kz750E1, Delkevic exhaust
Last edit: 09 Jan 2015 08:22 by JR.
Please Log in or Create an account to join the conversation.
- Special KK
-
Topic Author
- Offline
- User
-

Registered
- Posts: 109
- Thanks: 3
Re: carb issues?
09 Jan 2015 08:52 - 09 Jan 2015 09:03
Well after a bunch of fiddling with the carbs again today i put the 90's back on as recommended and the bike finally lives! whoop
...well sorta,
Its running much much better and quicker through the low to midrange and more top end but it still feels a bit boggy and isnt revving really high still. but i had the carbs off and double cleaned them out with some strong cleaner through the pilot system and i swear alll the jets and everything on those things are spotless now so im getting there finally i think
The diaphragm fix that i did came off when i removed the carbs so have re-done it and ordering a new diaphragm rubber for that slide.
Now that its running better im going to re-check the carb to manifold rubbers with some propane for leaks, i did check them before by spraying WD40 around them whilst running but im not sure how effective that method is tbh,
Awesome thanks Patton very very handy for an idiot like me who is pretty useless at electrics lol
i will check these properly now.
Thanks JR i will check the advancer and give it a clean if need be, and cheers for that factory manual link ive DL'd it so will come very much in handy
So once ive checked the stuff you guys have mentioned ill check the valve clearances, air system and those carb to manifold rubbers over again and hopefully i will be on the right track to getting her going sweet again!
Cheers.
...well sorta,Its running much much better and quicker through the low to midrange and more top end but it still feels a bit boggy and isnt revving really high still. but i had the carbs off and double cleaned them out with some strong cleaner through the pilot system and i swear alll the jets and everything on those things are spotless now so im getting there finally i think
The diaphragm fix that i did came off when i removed the carbs so have re-done it and ordering a new diaphragm rubber for that slide.
Now that its running better im going to re-check the carb to manifold rubbers with some propane for leaks, i did check them before by spraying WD40 around them whilst running but im not sure how effective that method is tbh,
Awesome thanks Patton very very handy for an idiot like me who is pretty useless at electrics lol
JR wrote:
Yep
Right had side as you are sitting on the bike shiny CD sized cover with Kawasaki on it. held on by 2 screws. Take it off and you will see a brass plate with 2 black thingies onit. These are the pulse coils for your electronic ignition. They send signal to the coils telling them when to fire. The timing advancer is behind this plate. Remove the 3 screw which hold this timing plate and you will see the advance. It looks something like this
Advancer650.jpg
When the engine runs and the crank turns faster and faster the 2 movable pieces on the advancer move outwards and advance the timing. Maximum advance is usually about 3 or 4000 rpm but definitely worth a look. If crud covered and the springs are stuck it should be cleaned and lubed. Patton has better pics of this
Check your Haynes manual. Also see here mbsween.bike-night.com/kz750l3/manual.html for a factory manual. It wont be exact for your model but good enough for most things
Check manual before taking a wrench to either of the nuts in the photo. If you need to remove the advancer loosen the small nut and if you need to turn the crank use the larger nut only and please double check what I just said
Thanks JR i will check the advancer and give it a clean if need be, and cheers for that factory manual link ive DL'd it so will come very much in handy
So once ive checked the stuff you guys have mentioned ill check the valve clearances, air system and those carb to manifold rubbers over again and hopefully i will be on the right track to getting her going sweet again!
Cheers.
2008 Aprilia Shiver SL750
1983 Kawasaki KZ750 LTD H4 Four cylinder
Previous bikes:
1999 Honda CBR 600 fx
1992 Kawasaki Zephyr 550b
1990 Honda CG 125
"All work and no play makes jack a dull boy"
1983 Kawasaki KZ750 LTD H4 Four cylinder
Previous bikes:
1999 Honda CBR 600 fx
1992 Kawasaki Zephyr 550b
1990 Honda CG 125
"All work and no play makes jack a dull boy"
Last edit: 09 Jan 2015 09:03 by Special KK.
Please Log in or Create an account to join the conversation.
- Special KK
-
Topic Author
- Offline
- User
-

Registered
- Posts: 109
- Thanks: 3
Re: carb issues?
09 Jan 2015 09:02
The other thing i had a look at whilst i had the carbs off (that i was pondering about before on here) was those pressed in 'jet needles' and whether they could be taken out and replaced in case i swapped the 'needle jets' for the N01A types, and they do indeed just pop out when pressed on after removing the jet needle holder. So seems this is still a good secondary option for tuning these carbs up in case the other stuff doesnt help with the non 6k+ revving side of things.
2008 Aprilia Shiver SL750
1983 Kawasaki KZ750 LTD H4 Four cylinder
Previous bikes:
1999 Honda CBR 600 fx
1992 Kawasaki Zephyr 550b
1990 Honda CG 125
"All work and no play makes jack a dull boy"
1983 Kawasaki KZ750 LTD H4 Four cylinder
Previous bikes:
1999 Honda CBR 600 fx
1992 Kawasaki Zephyr 550b
1990 Honda CG 125
"All work and no play makes jack a dull boy"
Please Log in or Create an account to join the conversation.
- Zephyrrider
-
- Offline
- User
-

Registered
- Posts: 586
- Thanks: 50
Re: carb issues?
09 Jan 2015 13:31
SK - do you mean the 4 little brass holders that sit in carb bodies ?
Mick
1994 ZR750 Zephyr C4.
1994 ZR750 Zephyr C4.
Please Log in or Create an account to join the conversation.
- Special KK
-
Topic Author
- Offline
- User
-

Registered
- Posts: 109
- Thanks: 3
Re: carb issues?
09 Jan 2015 13:58 - 09 Jan 2015 14:00
Yeah, its like this bit in the middle of the pic:
Attachment suzukidrz400smkeihincvkmg2.jpg not found
2008 Aprilia Shiver SL750
1983 Kawasaki KZ750 LTD H4 Four cylinder
Previous bikes:
1999 Honda CBR 600 fx
1992 Kawasaki Zephyr 550b
1990 Honda CG 125
"All work and no play makes jack a dull boy"
1983 Kawasaki KZ750 LTD H4 Four cylinder
Previous bikes:
1999 Honda CBR 600 fx
1992 Kawasaki Zephyr 550b
1990 Honda CG 125
"All work and no play makes jack a dull boy"
Last edit: 09 Jan 2015 14:00 by Special KK.
Please Log in or Create an account to join the conversation.
- Patton
-
- Offline
- KZr Legend
-

Registered
- Posts: 18567
- Thanks: 2103
Re: carb issues?
09 Jan 2015 16:04 - 09 Jan 2015 16:08
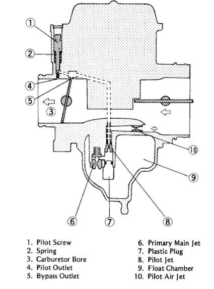
It's critical to pilot circuit function that the orifices #4 and #5 are clear and clean.
Would assure being able to see carb cleaner spray spewing into the carb bore when sprayed into the pilot screw hole (screw removed) and when sprayed into the pilot jet passage (jet removed).
Also critical that the tiny short passage between #6 into the pilot jet is clean and clear, and that the plug #7 is fitted upon reassembly.,
Good Fortune!
Would assure being able to see carb cleaner spray spewing into the carb bore when sprayed into the pilot screw hole (screw removed) and when sprayed into the pilot jet passage (jet removed).
Also critical that the tiny short passage between #6 into the pilot jet is clean and clear, and that the plug #7 is fitted upon reassembly.,
Good Fortune!
1973 Z1
KZ900 LTD
KZ900 LTD
Last edit: 09 Jan 2015 16:08 by Patton.
Please Log in or Create an account to join the conversation.
Moderators: Street Fighter LTD
