KZ750E idle and low speed issues
- r_lutece
-
Topic Author
- Offline
- User
-

Registered
- Posts: 20
- Thanks: 6
KZ750E idle and low speed issues
16 Oct 2021 08:56
Hello community!
I'm new to this board and excited about the number of people still working and driving with old KZs. Last year I reactivated the KZ750E '81 of my father and already covered a lot of outstanding maintenance work. Overall the bike is in a very good condition but I'm still struggling with some minor issues I can't seem to get resolved.
The bike performs quite well under load and has no issues going to higher RPMs. It pulls through perfectly when pulling full gas without suttering or performance issues. However in idle it doesn't run too even and and at low speeds like 30mph / 50km/h with lower rpm and very little load on an even road it seems like one cylinder is occassionally not firing as if it would run way to lean. In that situation you can also hear it pop in the exhaust sometimes when going into overrun.
Due to this I recently had the carbs (Keihin CV34) out. I dissassembled them for cleaning (they were quite clean from the start), to check the diaphragms which were all fine and to replace o rings that got brittle. The carbs also have been synchronized with vacuum meters.
After that procedure I tried to adjust the pilot screws according to the service manual by first setting them two rounds out and here comes the fun part. I usually drove it warm to then adjust the screws by listening to the engine and how it behaves as well as checking the plugs from time to time. To get the engine approximately running even though I always, before the carb cleaning and after, ended up truning the pilot screw for the 4th cylinder all in. Only then It would keep the RPM somehow stable and wouldn't sound like it could stall any second.
When I disassembled the carbs I also checked the pilot screws and they are all fine. No tip broken off or anything. In addition I checked the fuel level in the float bowl and they are quite even across the bank while being around 4mm under the bowl edge (+- 1mm).
Does anyone have an idea how this can be and what I could do to fix this? I have the feeling that this might also be connected with the symptom of the too lean cylinder at low speed.
Any inputs are appreciated!
Kevin
I'm new to this board and excited about the number of people still working and driving with old KZs. Last year I reactivated the KZ750E '81 of my father and already covered a lot of outstanding maintenance work. Overall the bike is in a very good condition but I'm still struggling with some minor issues I can't seem to get resolved.
The bike performs quite well under load and has no issues going to higher RPMs. It pulls through perfectly when pulling full gas without suttering or performance issues. However in idle it doesn't run too even and and at low speeds like 30mph / 50km/h with lower rpm and very little load on an even road it seems like one cylinder is occassionally not firing as if it would run way to lean. In that situation you can also hear it pop in the exhaust sometimes when going into overrun.
Due to this I recently had the carbs (Keihin CV34) out. I dissassembled them for cleaning (they were quite clean from the start), to check the diaphragms which were all fine and to replace o rings that got brittle. The carbs also have been synchronized with vacuum meters.
After that procedure I tried to adjust the pilot screws according to the service manual by first setting them two rounds out and here comes the fun part. I usually drove it warm to then adjust the screws by listening to the engine and how it behaves as well as checking the plugs from time to time. To get the engine approximately running even though I always, before the carb cleaning and after, ended up truning the pilot screw for the 4th cylinder all in. Only then It would keep the RPM somehow stable and wouldn't sound like it could stall any second.
When I disassembled the carbs I also checked the pilot screws and they are all fine. No tip broken off or anything. In addition I checked the fuel level in the float bowl and they are quite even across the bank while being around 4mm under the bowl edge (+- 1mm).
Does anyone have an idea how this can be and what I could do to fix this? I have the feeling that this might also be connected with the symptom of the too lean cylinder at low speed.
Any inputs are appreciated!
Kevin
Please Log in or Create an account to join the conversation.
- Nessism
-
- Offline
- Sustaining Member
-

Registered
- Posts: 8052
- Thanks: 3433
Re: KZ750E idle and low speed issues
16 Oct 2021 19:41
It seems like you have done a good job with the carbs. That part about having to turn in the pilot screw on #4 all the way doesn't sound right though. I'm unsure what to suggest other than to check spark. Maybe replace the high tension leads and spark plug caps? Can't hurt. And check the spark advance to make sure it moves smoothly and snaps back to the idle position the way it should.
Ed
Carb O-ring Kits : www.kzrider.com/forum/14-vendor-forum/62...rburetor-o-ring-kits
www.kzrider.com/forum/faq-wiki/618026-new-owner-things-to-know
1981 KZ750E2
www.kzrider.com/forum/11-projects/604901...z750e-project-thread
Carb O-ring Kits : www.kzrider.com/forum/14-vendor-forum/62...rburetor-o-ring-kits
www.kzrider.com/forum/faq-wiki/618026-new-owner-things-to-know
1981 KZ750E2
www.kzrider.com/forum/11-projects/604901...z750e-project-thread
The following user(s) said Thank You: undiablo, r_lutece
Please Log in or Create an account to join the conversation.
- ghostdive
-
- Offline
- User
-

Registered
- Posts: 391
- Thanks: 120
Re: KZ750E idle and low speed issues
16 Oct 2021 20:18
I suspect it may be a spark/ignition issue too. I had similar symptoms from my coil shorting to my fuel tank.
1982 KZ750 Spectre - 6 speed swap, BS34s, 18" rear wheel
2001 ZX-6R
2001 ZX-6R
The following user(s) said Thank You: r_lutece
Please Log in or Create an account to join the conversation.
- Mikaw
-
- Offline
- Sustaining Member
-

Registered
- Posts: 4825
- Thanks: 1851
Re: KZ750E idle and low speed issues
16 Oct 2021 21:49
Stock air box or pod filters? Stock exhaust or aftermarket?
I had a similar issue at low rpm, popping, surging. I’m running pod filters. I installed air corrector jets and new carb holders. Issues went away. My guess is the air correctors fixed the surging, bad idle and the carb holders fixed the popping.
I’m not sure if the air corrector jets are available for the Keihin carbs. Send Zed1015 a PM and ask. He is the member that makes/sells them.
If you still have the stock air box make sure the boots between the air box and carbs are soft and seal to the carbs well. Make sure your air filter is good quality and clean. When you had the carbs out did you record the jet sizes?
I had a similar issue at low rpm, popping, surging. I’m running pod filters. I installed air corrector jets and new carb holders. Issues went away. My guess is the air correctors fixed the surging, bad idle and the carb holders fixed the popping.
I’m not sure if the air corrector jets are available for the Keihin carbs. Send Zed1015 a PM and ask. He is the member that makes/sells them.
If you still have the stock air box make sure the boots between the air box and carbs are soft and seal to the carbs well. Make sure your air filter is good quality and clean. When you had the carbs out did you record the jet sizes?
1976 KZ 900 A4
kzrider.com/forum/11-projects/613548-1976-kz-900-a4
1976 KZ 900 B1 LTD
1978 KZ 1000 B2 LTD
1980 KZ 750 E1
Kowledge Speaks, But Wisdom Listens.
Jimi Hendrix.
1976 KZ 900 B1 LTD
1978 KZ 1000 B2 LTD
1980 KZ 750 E1
Kowledge Speaks, But Wisdom Listens.
Jimi Hendrix.
The following user(s) said Thank You: r_lutece
Please Log in or Create an account to join the conversation.
- blipco
-
- Offline
- User
-

Registered
- 2002 KZ1000P
- Posts: 556
- Thanks: 212
Re: KZ750E idle and low speed issues
17 Oct 2021 06:26
It sounds to me that your #4 slow speed circuit is clogged. I just went through a similar problem with my 750. Turning the mixture screws out three full turns solved my problem. The factory settings were just above and below two turns.
I should note that I have 32 Keihins on a 2001 zr7S that use 34 pilot jets which are pretty lean for the EPA.
So, this may not help.
I should note that I have 32 Keihins on a 2001 zr7S that use 34 pilot jets which are pretty lean for the EPA.
So, this may not help.
"Swim against the current, even a dead fish can go with the flow"-somebody (I forget Who)
The following user(s) said Thank You: r_lutece
Please Log in or Create an account to join the conversation.
- r_lutece
-
Topic Author
- Offline
- User
-

Registered
- Posts: 20
- Thanks: 6
Re: KZ750E idle and low speed issues
17 Oct 2021 11:34
Thanks everyone for your replies!
A couple of months ago I swapped the ignition coils including cables, caps and spark plugs due to another ignition issue which turned out to be a defective pickup coil in the end which I replaced as well. The issue I currently have already existed prior to that though and hasn't changed.
I haven't checked the spark advance yet. This is something I can look at.
Airbox and filter are stock. In suspicion of that I already replaced the filter with a new one but no effect. The rubbers towards the airbox are still good and soft. The ones towards the engine have been replaced some months ago because the old ones got tears. I also sprayed them with brake cleaner in idle listening to the engine to see if they are not sealing well but couldn't find any issue.
The jets seem all to be standard:
primary main: #62
secondary main: #125
pilot jet: #35
The exhaust was changed by a previous owner prior my dad to a Scheibel 4in1 exhaust probably when the bike was still relatively new. They were known for their excellent quality (stainless steel) but you can't get those anymore. Of course the exhaust can have a significant impact on the performance of the bike but I wonder why it would be on just one cylinder.
A couple of months ago I swapped the ignition coils including cables, caps and spark plugs due to another ignition issue which turned out to be a defective pickup coil in the end which I replaced as well. The issue I currently have already existed prior to that though and hasn't changed.
I haven't checked the spark advance yet. This is something I can look at.
Airbox and filter are stock. In suspicion of that I already replaced the filter with a new one but no effect. The rubbers towards the airbox are still good and soft. The ones towards the engine have been replaced some months ago because the old ones got tears. I also sprayed them with brake cleaner in idle listening to the engine to see if they are not sealing well but couldn't find any issue.
The jets seem all to be standard:
primary main: #62
secondary main: #125
pilot jet: #35
The exhaust was changed by a previous owner prior my dad to a Scheibel 4in1 exhaust probably when the bike was still relatively new. They were known for their excellent quality (stainless steel) but you can't get those anymore. Of course the exhaust can have a significant impact on the performance of the bike but I wonder why it would be on just one cylinder.
Please Log in or Create an account to join the conversation.
- JR
-
- Offline
- Sustaining Member
-

Registered
- Posts: 2963
- Thanks: 481
Re: KZ750E idle and low speed issues
17 Oct 2021 17:45
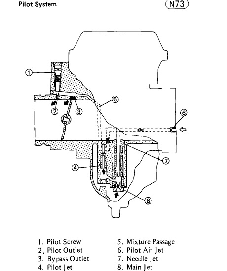
These 3 tiny holes (Pilot Bypass ) are easily blocked and easily overlooked. A fine pin with tip bent 90 degrees works well to poke out crud
Carb cleaner sprayed in #4 should exit at #3. Wear safety glasses as spray may exit elsewhere and carb cleaner in the eye is painful.
Carb cleaner sprayed in #4 should exit at #3. Wear safety glasses as spray may exit elsewhere and carb cleaner in the eye is painful.
1980 kz750E1, Delkevic exhaust
The following user(s) said Thank You: ThatGPzGuy, Nessism, r_lutece
Please Log in or Create an account to join the conversation.
- r_lutece
-
Topic Author
- Offline
- User
-

Registered
- Posts: 20
- Thanks: 6
Re: KZ750E idle and low speed issues
19 Oct 2021 11:04
Thanks, JR for the insight on the pilot system! My service manual unfortunately doesn't go that deep into it. I carefully checked those with a needle and a spray and all of them seem to be clear. I noticed different happy little issue though. Back then when I synchronized the carbs I only had to use the center adjusting screw as both pairs seemed already synchronized in between. However I now noticed that the screw for the problematic carb was loose. That means I'll probably have to check it with the vacuum meters again and take it for another test ride.
I'll update once I know more. At my last ride though my speedometer started misbehaving and making noises. Seems like the repair journey never stops. :')
I'll update once I know more. At my last ride though my speedometer started misbehaving and making noises. Seems like the repair journey never stops. :')
Please Log in or Create an account to join the conversation.
Moderators: Street Fighter LTD
