Petcock - drain screw
- 1981KZ550
-
Topic Author
- Offline
- User
-

Registered
- Posts: 11
- Thanks: 1
Petcock - drain screw
26 Dec 2020 07:35
So the Clymer's manual for the 1981 KZ550 shows the petcock with a drain "plug" on the bottom. I'm sure mine is factory original petcock, but it doesn't look like a removable plug. The blow up diagram in the shop manual makes it look like a screw. Does anyone know how to remove the plug? I'm trying to give it a good cleaning but can't figure out how to remove the drain "plug". Thanks
Please Log in or Create an account to join the conversation.
- 650ed
-
- Offline
- User
-

Registered
- Posts: 15336
- Thanks: 2833
Re: Petcock - drain screw
26 Dec 2020 08:47 - 26 Dec 2020 08:50
I don't see any drain screw on the factory petcock diagram. Maybe yet another Clymer boo boo? No offense intended, but I suggest you buy a Kawasaki Service Manual. Ed
www.kawasaki.com/en-us/owner-center/part...550-A2-_-VIEWDIAGRAM
www.kawasaki.com/en-us/owner-center/part...550-A2-_-VIEWDIAGRAM
1977 KZ650-C1 Original Owner - Stock (with additional invisible FIAMM horn)
Last edit: 26 Dec 2020 08:50 by 650ed.
The following user(s) said Thank You: 1981KZ550
Please Log in or Create an account to join the conversation.
- 1981KZ550
-
Topic Author
- Offline
- User
-

Registered
- Posts: 11
- Thanks: 1
Re: Petcock - drain screw
26 Dec 2020 09:48
(See photos I've attached) Yeah, the manual covers 1979 - 1985, so must not be the '81, but you'd think they would tag it as only applicable to those years? My first Clymers manual, usually Haynes but I've not been impressed. Thanks for the feedback!
Please Log in or Create an account to join the conversation.
- hardrockminer
-
- Offline
- Sustaining Member
-

Registered
- Posts: 3104
- Thanks: 1217
Re: Petcock - drain screw
26 Dec 2020 10:06
It looks like there was a drain plug on that petcock model at some point, but it was later blocked off.
I have several restored bikes along with a 2006 Goldwing with a sidecar.
The following user(s) said Thank You: 1981KZ550
Please Log in or Create an account to join the conversation.
- loudhvx
-
- Offline
- KZr Legend
-

Registered
- Posts: 10863
- Thanks: 1622
Re: Petcock - drain screw
26 Dec 2020 16:50
I have never seen a drain screw on any Kz550 petcock.
1981 KZ550 D1 gpz.
Kz550 valve train warning.
Other links.
Kz550 valve train warning.
Other links.
The following user(s) said Thank You: 1981KZ550
Please Log in or Create an account to join the conversation.
- martin_csr
-
- Offline
- User
-

Registered
- Posts: 7994
- Thanks: 1644
Re: Petcock - drain screw
26 Dec 2020 23:44 - 27 Dec 2020 06:24
By loudhvx: I have never seen a drain screw on any Kz550 petcock.
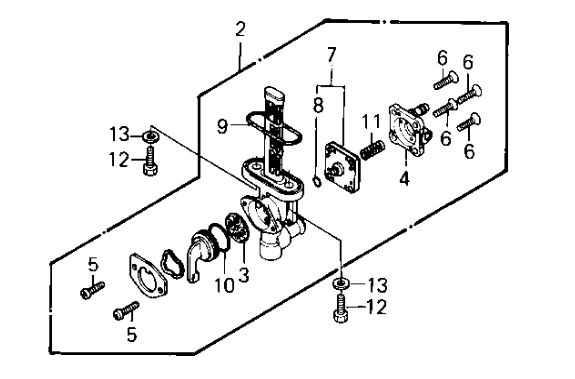
From the 79-83 KZ400/500/550 FSM some early models apparently had the drain bolt. see page 155.
A number of other models also had it, including some KZ400s & KZ650s et al. never noticed that before at partzilla.
www.partzilla.com/catalog/kawasaki/motor...m-kz650-c1/fuel-tank >> #22 in the drawing
From the 79-83 KZ400/500/550 FSM some early models apparently had the drain bolt. see page 155.
A number of other models also had it, including some KZ400s & KZ650s et al. never noticed that before at partzilla.
www.partzilla.com/catalog/kawasaki/motor...m-kz650-c1/fuel-tank >> #22 in the drawing
Last edit: 27 Dec 2020 06:24 by martin_csr.
The following user(s) said Thank You: 1981KZ550
Please Log in or Create an account to join the conversation.
- loudhvx
-
- Offline
- KZr Legend
-

Registered
- Posts: 10863
- Thanks: 1622
Re: Petcock - drain screw
27 Dec 2020 16:43martin_csr wrote: By loudhvx: I have never seen a drain screw on any Kz550 petcock.
From the 79-83 KZ400/500/550 FSM some early models apparently had the drain bolt. see page 155.
A number of other models also had it, including some KZ400s & KZ650s et al. never noticed that before at partzilla.
www.partzilla.com/catalog/kawasaki/motor...m-kz650-c1/fuel-tank >> #22 in the drawing
I believe those pages, in that range, referring to the fuel systems, applies to the Kz500 model. The jetting reference is for the 500, not the 550. Maybe the 500 had a drain plug in 1979, but I haven't seen a drain on a 1980 Kz550 petcock, which would be the first year for the 550, and I have had several 1980 tanks. That's not proof, of course, so it's still possible a few are out there, but it would be rare.
1981 KZ550 D1 gpz.
Kz550 valve train warning.
Other links.
Kz550 valve train warning.
Other links.
The following user(s) said Thank You: 1981KZ550
Please Log in or Create an account to join the conversation.
Moderators: Street Fighter LTD
