KZ700 Changed air filter and main-jets
- nieks20
-
Topic Author
- Offline
- User
-

Registered
- Posts: 5
- Thanks: 0
KZ700 Changed air filter and main-jets
17 Jan 2020 09:41
a year ago I bought an KZ700 (that wasnt use for aproximately 4 years. It didnt run untill I changed the carburators and spark plugs. recently I changed the air filter to 4 pod filters. Because of this it would only idle with choke half open and would not easily reach high RPM when giving full throttle. Because of this I desided to replace the stock main jets (105) to a bigger size (110). Now it idles around 4000 RPM... oeps... turing the 'screw-pilot AIR' half a turn or the 'Screw-throttle stop' by many turns didn't change the idle RPM at all.
Does anyone know a few things I can try out to resolve the problem?
Does anyone know a few things I can try out to resolve the problem?
Please Log in or Create an account to join the conversation.
- Scirocco
-
- Offline
- Premium Member
-

Registered
- Never change a running system
- Posts: 4397
- Thanks: 2260
Re: KZ700 Changed air filter and main-jets
17 Jan 2020 10:34
Looks like your carb Pilot fuel Jets and air ports are clogged and Need some good cleaning.
My 1975 Z 1 B 900 Project
www.kzrider.com/forum/11-projects/605133...ears-deep-sleep-mode
www.kzrider.com/forum/11-projects/605133...ears-deep-sleep-mode
Please Log in or Create an account to join the conversation.
- nieks20
-
Topic Author
- Offline
- User
-

Registered
- Posts: 5
- Thanks: 0
Re: KZ700 Changed air filter and main-jets
17 Jan 2020 10:52
what do you mean by air ports? the air pods are brand new so that cant be the issue? also the i have disasambled the whole carburators and cleaned them thoroughly.
Please Log in or Create an account to join the conversation.
- nieks20
-
Topic Author
- Offline
- User
-

Registered
- Posts: 5
- Thanks: 0
Re: KZ700 Changed air filter and main-jets
17 Jan 2020 10:55 - 17 Jan 2020 11:29
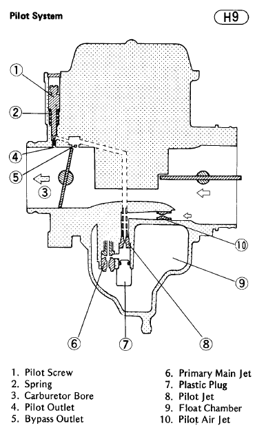
I have the feeling it is the pilot screw (see picture). How do I know this is in the correct position?
Welcome to KZRider I fixed your picture
Next time when adding pictures hit the insert all tab
Dave
Welcome to KZRider I fixed your picture
Next time when adding pictures hit the insert all tab
Dave
Last edit: 17 Jan 2020 11:29 by Street Fighter LTD.
Please Log in or Create an account to join the conversation.
- 650ed
-
- Offline
- User
-

Registered
- Posts: 15334
- Thanks: 2830
Re: KZ700 Changed air filter and main-jets
17 Jan 2020 13:11nieks20 wrote: a year ago I bought an KZ700 (that wasnt use for aproximately 4 years. It didnt run untill I changed the carburators and spark plugs. recently I changed the air filter to 4 pod filters. Because of this it would only idle with choke half open and would not easily reach high RPM when giving full throttle. Because of this I desided to replace the stock main jets (105) to a bigger size (110). Now it idles around 4000 RPM... oeps... turing the 'screw-pilot AIR' half a turn or the 'Screw-throttle stop' by many turns didn't change the idle RPM at all.
Does anyone know a few things I can try out to resolve the problem?
Put the airbox and a new stock air filter back on the bike. If you can get it to run properly with the airbox on the pods are the problem. Ed
1977 KZ650-C1 Original Owner - Stock (with additional invisible FIAMM horn)
Please Log in or Create an account to join the conversation.
- TexasKZ
-
- Offline
- Platinum Member
-

Registered
- Posts: 8139
- Thanks: 2646
Re: KZ700 Changed air filter and main-jets
17 Jan 2020 13:25 - 17 Jan 2020 13:53
There may be air leaks where the carbs fit into the carb holders, or the holders may be leaking. Are the carb holders hard and cracked?
Generally, you should start with the pilot screws about 1 1/2 turns out from lightly seated. If you have to go much more than 2 1/2 turns out, then the pilot circuit is likely clogged or the pilot jet is too small.
If you are using Emgo or no-name pods they may be the problem as they block the air jets in the mouth of the carbs.
Generally, you should start with the pilot screws about 1 1/2 turns out from lightly seated. If you have to go much more than 2 1/2 turns out, then the pilot circuit is likely clogged or the pilot jet is too small.
If you are using Emgo or no-name pods they may be the problem as they block the air jets in the mouth of the carbs.
1982 KZ1000 LTD parts donor
1981 KZ1000 LTD awaiting resurrection
2000 ZRX1100 not ridden enough
www.kzrider.com/11-projects/620336-anoth...uild-thread?start=24
1981 KZ1000 LTD awaiting resurrection
2000 ZRX1100 not ridden enough
www.kzrider.com/11-projects/620336-anoth...uild-thread?start=24
Last edit: 17 Jan 2020 13:53 by TexasKZ.
Please Log in or Create an account to join the conversation.
- Scirocco
-
- Offline
- Premium Member
-

Registered
- Never change a running system
- Posts: 4397
- Thanks: 2260
Re: KZ700 Changed air filter and main-jets
17 Jan 2020 13:38
I am talking about the air ports not the air filter pots!!!
My 1975 Z 1 B 900 Project
www.kzrider.com/forum/11-projects/605133...ears-deep-sleep-mode
www.kzrider.com/forum/11-projects/605133...ears-deep-sleep-mode
Please Log in or Create an account to join the conversation.
- TexasKZ
-
- Offline
- Platinum Member
-

Registered
- Posts: 8139
- Thanks: 2646
Re: KZ700 Changed air filter and main-jets
17 Jan 2020 13:52
You said you replaced the carburetors. Are they the same make and model as the stock carburetors? If so, are the nylon plugs (#7 in the diagram above) installed and snug fitting?
1982 KZ1000 LTD parts donor
1981 KZ1000 LTD awaiting resurrection
2000 ZRX1100 not ridden enough
www.kzrider.com/11-projects/620336-anoth...uild-thread?start=24
1981 KZ1000 LTD awaiting resurrection
2000 ZRX1100 not ridden enough
www.kzrider.com/11-projects/620336-anoth...uild-thread?start=24
Please Log in or Create an account to join the conversation.
- nieks20
-
Topic Author
- Offline
- User
-

Registered
- Posts: 5
- Thanks: 0
Re: KZ700 Changed air filter and main-jets
18 Jan 2020 03:13 - 18 Jan 2020 03:15
Thank you texasKZ, the pods could definitely be a problem since they block one intake passage from the carb. Also, I re-tuned my pilot screws to like you said and tried starting it without air pods, now it runs quite good (idle and revving)! now that I got it to run quite oke without air filters I am willing to spend money on real K&N air pods.
Also, the carb holders look good and dont feel old or too hard
Also, the carb holders look good and dont feel old or too hard
Last edit: 18 Jan 2020 03:15 by nieks20.
Please Log in or Create an account to join the conversation.
- nieks20
-
Topic Author
- Offline
- User
-

Registered
- Posts: 5
- Thanks: 0
Re: KZ700 Changed air filter and main-jets
18 Jan 2020 03:19
I only cleaned the carburetors and changed the main jet. Furthermore, the picture I send of the scematic carburetor is not 100% correct since it is from a KZ750 and I have a KZ700 (with the origional carburetor). My carburetor does not have the plastic plug btw.
I use the repair manual of a KZ750 (which is close to similar to a KZ700), since I can find one for a KZ700. If anyone knows where I can find a manual for a KZ700 specifically, that would be very helpful
I use the repair manual of a KZ750 (which is close to similar to a KZ700), since I can find one for a KZ700. If anyone knows where I can find a manual for a KZ700 specifically, that would be very helpful
Please Log in or Create an account to join the conversation.
- martin_csr
-
- Offline
- User
-

Registered
- Posts: 7994
- Thanks: 1644
Re: KZ700 Changed air filter and main-jets
18 Jan 2020 07:12 - 18 Jan 2020 10:10
Kawasaki Service Manual:
750turbo.com >>> Downloads >>> Full manual (128mb PDF)
.
80-85 750-4 chain drive manual. Yellow/gold cover w color wiring diagrams. 1980-84 KZ750-4 & KZ700. 1983-85 ZX750.
The KZ700-A1 came stock w Mikuni BS34 carburetors. In the manual the 82 supplement has the Mikuni BS34 info w jetting table & a cutaway view of the carburetor (pg 313). There may be other related carburetor info. The 84 supplement begins on page 389.
ps: the manual may be linked here on KZR in the Filebase, but I didn't see it. There's a cruddy black-n-white pdf floating around the internet, so be sure to get the good version. also, I would keep the stock airbox. new ducts are still available.
80-85 750-4 chain drive manual. Yellow/gold cover w color wiring diagrams. 1980-84 KZ750-4 & KZ700. 1983-85 ZX750.
The KZ700-A1 came stock w Mikuni BS34 carburetors. In the manual the 82 supplement has the Mikuni BS34 info w jetting table & a cutaway view of the carburetor (pg 313). There may be other related carburetor info. The 84 supplement begins on page 389.
ps: the manual may be linked here on KZR in the Filebase, but I didn't see it. There's a cruddy black-n-white pdf floating around the internet, so be sure to get the good version. also, I would keep the stock airbox. new ducts are still available.
Last edit: 18 Jan 2020 10:10 by martin_csr.
The following user(s) said Thank You: nieks20
Please Log in or Create an account to join the conversation.
- Nessism
-
- Offline
- Sustaining Member
-

Registered
- Posts: 8055
- Thanks: 3438
Re: KZ700 Changed air filter and main-jets
18 Jan 2020 08:41
What type of carbs did you buy and why didn't you rebuild the original 700 carbs? Any time you buy a set of used carbs it's critical to take them apart and clean them and change the O-rings to refresh the sealing.
Here is a tutorial on how to clean BS CV Mikuni such as most 700's came with originally.
zeus.mtsac.edu/~cliff/storage/gs/Mikuni_...Rebuild_Tutorial.pdf
Realize of course that any time you install pod filters you will also have to rejet. This is not as simple as just bumping the main jets a couple of sizes. A Dynojet kit is the easiest path forward. Most of the time the pilot jets don't need to be changed. And the pilot screws should be set at 2.5 turns open as a starting point.
Regarding the high idle, this is not caused by the pilot circuit in the carbs. It's caused by air leaks or a stuck throttle cable. I strongly suggest changing the rubber carb boots, buying real pods like K&N's, buying a Dynojet kit, and cleaning the carbs properly per the tutorial linked above. Short cuts are long cuts and you will waste a lot of time or just provide a temporary fix unless you follow all these steps completely.
Here is a tutorial on how to clean BS CV Mikuni such as most 700's came with originally.
zeus.mtsac.edu/~cliff/storage/gs/Mikuni_...Rebuild_Tutorial.pdf
Realize of course that any time you install pod filters you will also have to rejet. This is not as simple as just bumping the main jets a couple of sizes. A Dynojet kit is the easiest path forward. Most of the time the pilot jets don't need to be changed. And the pilot screws should be set at 2.5 turns open as a starting point.
Regarding the high idle, this is not caused by the pilot circuit in the carbs. It's caused by air leaks or a stuck throttle cable. I strongly suggest changing the rubber carb boots, buying real pods like K&N's, buying a Dynojet kit, and cleaning the carbs properly per the tutorial linked above. Short cuts are long cuts and you will waste a lot of time or just provide a temporary fix unless you follow all these steps completely.
Ed
Carb O-ring Kits : www.kzrider.com/forum/14-vendor-forum/62...rburetor-o-ring-kits
www.kzrider.com/forum/faq-wiki/618026-new-owner-things-to-know
1981 KZ750E2
www.kzrider.com/forum/11-projects/604901...z750e-project-thread
Carb O-ring Kits : www.kzrider.com/forum/14-vendor-forum/62...rburetor-o-ring-kits
www.kzrider.com/forum/faq-wiki/618026-new-owner-things-to-know
1981 KZ750E2
www.kzrider.com/forum/11-projects/604901...z750e-project-thread
The following user(s) said Thank You: nieks20
Please Log in or Create an account to join the conversation.
Moderators: Street Fighter LTD
