more things I don't know about carbs: VM26SS
- tmeric7
-
Topic Author
- Offline
- User
-

Registered
- Posts: 12
- Thanks: 2
more things I don't know about carbs: VM26SS
07 Sep 2020 11:17
Hello,
I received some good advice on float needles in another recent thread, but there are a few more questions bouncing in my head. First off, this is only my second carb rebuild (first was on a GT750 that went well). I'm reasonably mechanically inclined, but I don't have enough experience to know what is important or not. Anyway, here goes...
Th motorcycle is a 1978 KZ1000-A2. Frame numbers fall in Japan manufacture range here:
www.zedder.com/Info/78%20KZ1000-A2.htm
But, when I look at carb internal parts, the numbers seem to fit the data in the Clymer manual for the 1977 Std. model (A1 I guess). This is what I have on my carbs:
Throttle valve: 1.5
Jet needle: 5CN8 - 3rd grove
Main jet: 110
Float valve: 2.3
That seems to match the 1977 Std. model except the main jets are listed as 107.5 (close).
(I have an A2A service manual too, and the specs on carb parts there match Clymer for 1978-1/2, very upper-right in the table.)
I read on another thread that the numbers stamped on the carbs below the choke lever can help identify sub-model and year, but I haven't found a resource that helps identify what I have:
299
02
OK, the questions:
1. Do I have an A2 bike with A1 carbs? Are these not the original carbs, or is it possible that they are original and some A1 parts made it into my A2? This is mostly curiosity, except in may influence how I rebuild.
2. What main jets should I have in there? There are old 110s in now from when I bought it. I also have aftermarket sets of 105s and 102s. 105 is the size Clymer gives for the A2. I don't have the stock size for the A1 (107.5s). Should I buy 107.5s or use something I have? BTW... What do these numbers mean? I'm sure they have something to do with the size or shape of the jet hole, but is bigger number = bigger hole? How sensitive is change in next size up/down on motorcycle performance?
3. When I first took these carbs out 2 years ago (motorcycle not running well since), I did not note the setting on the piolet screw. I have since learned that this is important and the nominal setting is about 1-1/4 turns out. Should this go smoothly if I roll with that, or am I in for trouble? What should I know to sort this out? Also, should I:
- Use old Mikuni pilot screws, little worn, I don't know which came out of which carb
- Use new aftermarket screws (which I have)
- Buy new Mikuni pilot screws?
(Like I said... I don't know what's important.)
4. Anything else I really need to know?
Thanks for your help, and bearing with all my questions,
Tristan
P.S. It's frustrating/confusing that this Kawasaki page is missing all but one part number. Figures...
www.kawasaki.com/Parts/PartsDiagram/144171/1978/KZ1000-A2
P.P.S. I tried to upload pics, but I keep getting "Forbidden" messages.
I received some good advice on float needles in another recent thread, but there are a few more questions bouncing in my head. First off, this is only my second carb rebuild (first was on a GT750 that went well). I'm reasonably mechanically inclined, but I don't have enough experience to know what is important or not. Anyway, here goes...
Th motorcycle is a 1978 KZ1000-A2. Frame numbers fall in Japan manufacture range here:
www.zedder.com/Info/78%20KZ1000-A2.htm
But, when I look at carb internal parts, the numbers seem to fit the data in the Clymer manual for the 1977 Std. model (A1 I guess). This is what I have on my carbs:
Throttle valve: 1.5
Jet needle: 5CN8 - 3rd grove
Main jet: 110
Float valve: 2.3
That seems to match the 1977 Std. model except the main jets are listed as 107.5 (close).
(I have an A2A service manual too, and the specs on carb parts there match Clymer for 1978-1/2, very upper-right in the table.)
I read on another thread that the numbers stamped on the carbs below the choke lever can help identify sub-model and year, but I haven't found a resource that helps identify what I have:
299
02
OK, the questions:
1. Do I have an A2 bike with A1 carbs? Are these not the original carbs, or is it possible that they are original and some A1 parts made it into my A2? This is mostly curiosity, except in may influence how I rebuild.
2. What main jets should I have in there? There are old 110s in now from when I bought it. I also have aftermarket sets of 105s and 102s. 105 is the size Clymer gives for the A2. I don't have the stock size for the A1 (107.5s). Should I buy 107.5s or use something I have? BTW... What do these numbers mean? I'm sure they have something to do with the size or shape of the jet hole, but is bigger number = bigger hole? How sensitive is change in next size up/down on motorcycle performance?
3. When I first took these carbs out 2 years ago (motorcycle not running well since), I did not note the setting on the piolet screw. I have since learned that this is important and the nominal setting is about 1-1/4 turns out. Should this go smoothly if I roll with that, or am I in for trouble? What should I know to sort this out? Also, should I:
- Use old Mikuni pilot screws, little worn, I don't know which came out of which carb
- Use new aftermarket screws (which I have)
- Buy new Mikuni pilot screws?
(Like I said... I don't know what's important.)
4. Anything else I really need to know?
Thanks for your help, and bearing with all my questions,
Tristan
P.S. It's frustrating/confusing that this Kawasaki page is missing all but one part number. Figures...
www.kawasaki.com/Parts/PartsDiagram/144171/1978/KZ1000-A2
P.P.S. I tried to upload pics, but I keep getting "Forbidden" messages.
2020 Royal Enfield INT650
1981 Honda CM400
1978 KZ1000A2
1974 Suzi GT750
1971 Honda CL450
1981 Honda CM400
1978 KZ1000A2
1974 Suzi GT750
1971 Honda CL450
Please Log in or Create an account to join the conversation.
- Mikaw
-
- Offline
- Sustaining Member
-

Registered
- Posts: 4826
- Thanks: 1851
Re: more things I don't know about carbs: VM26SS
07 Sep 2020 13:11
I went back and read your original post. there are some things you should let the forum know so the correct answers can be given.
Internal engine mods. Stock of performance parts.
Stock exhaust
Stock air box.
Have you set valve lash? Checked timing and conformed the timing advancer is functioning? Is the charging system working correctly because a weak battery will cause the bike to run poor. Have you tested compression? Do you have fresh fuel? Did you vacuum sync the carbs after last rebuild? What do the current plugs look like? Does the choke work? The plungers seals may be hard.
As for the carbs getting the correct year is not as important and knowing the internal parts and that you seam to have done. You need to check and set the float levels using the clear tube method. this will tell you if they are correct and also answer Hardrockminers question. When he asked if they are leaking he meant any fuel coming out of the fuel bowl overflow tubes. if there is no fuel leaking out of them after the float levels are set then the float seats and needles are good enough for now.
1 1/4 turns out is a good starting point. once warmed up adjust them for best idle.
Internal engine mods. Stock of performance parts.
Stock exhaust
Stock air box.
Have you set valve lash? Checked timing and conformed the timing advancer is functioning? Is the charging system working correctly because a weak battery will cause the bike to run poor. Have you tested compression? Do you have fresh fuel? Did you vacuum sync the carbs after last rebuild? What do the current plugs look like? Does the choke work? The plungers seals may be hard.
As for the carbs getting the correct year is not as important and knowing the internal parts and that you seam to have done. You need to check and set the float levels using the clear tube method. this will tell you if they are correct and also answer Hardrockminers question. When he asked if they are leaking he meant any fuel coming out of the fuel bowl overflow tubes. if there is no fuel leaking out of them after the float levels are set then the float seats and needles are good enough for now.
1 1/4 turns out is a good starting point. once warmed up adjust them for best idle.
1976 KZ 900 A4
kzrider.com/forum/11-projects/613548-1976-kz-900-a4
1976 KZ 900 B1 LTD
1978 KZ 1000 B2 LTD
1980 KZ 750 E1
Kowledge Speaks, But Wisdom Listens.
Jimi Hendrix.
1976 KZ 900 B1 LTD
1978 KZ 1000 B2 LTD
1980 KZ 750 E1
Kowledge Speaks, But Wisdom Listens.
Jimi Hendrix.
Please Log in or Create an account to join the conversation.
- Scirocco
-
- Offline
- Premium Member
-

Registered
- Never change a running system
- Posts: 4398
- Thanks: 2260
Re: more things I don't know about carbs: VM26SS
07 Sep 2020 13:14 - 07 Sep 2020 13:14
Give all carb parts a good clean, check/set the float level, check/adjust the static carb sync, replace the old and brittle seals and fuel tees and get the bike running. 110 main jets are a good starting Point to fine tune the carbs later. The numbers on the main jets are not the bore ID, the number describe the flow rate.
My 1975 Z 1 B 900 Project
www.kzrider.com/forum/11-projects/605133...ears-deep-sleep-mode
www.kzrider.com/forum/11-projects/605133...ears-deep-sleep-mode
Last edit: 07 Sep 2020 13:14 by Scirocco.
The following user(s) said Thank You: tmeric7
Please Log in or Create an account to join the conversation.
- Nessism
-
- Offline
- Sustaining Member
-

Registered
- Posts: 7989
- Thanks: 3368
Re: more things I don't know about carbs: VM26SS
07 Sep 2020 13:14
It doesn't matter what pilot screw you use.
The carb numbers don't matter all that much either unless you are doing a concourse restore.
Key things related to running is to make sure they are clean and with properly functioning float valves. Jetting is important of course, but even that isn't critical as long as you are using the factory airbox.
I think will be fine with either the 110's or maybe the 105's. Pilot jet size it either 15 or 17.5. Either will work with the airbox.
As with all things carbs some experimentation is often required.
Good luck
The carb numbers don't matter all that much either unless you are doing a concourse restore.
Key things related to running is to make sure they are clean and with properly functioning float valves. Jetting is important of course, but even that isn't critical as long as you are using the factory airbox.
I think will be fine with either the 110's or maybe the 105's. Pilot jet size it either 15 or 17.5. Either will work with the airbox.
As with all things carbs some experimentation is often required.
Good luck
Ed
Carb O-ring Kits : www.kzrider.com/forum/14-vendor-forum/62...rburetor-o-ring-kits
www.kzrider.com/forum/faq-wiki/618026-new-owner-things-to-know
1981 KZ750E2
www.kzrider.com/forum/11-projects/604901...z750e-project-thread
Carb O-ring Kits : www.kzrider.com/forum/14-vendor-forum/62...rburetor-o-ring-kits
www.kzrider.com/forum/faq-wiki/618026-new-owner-things-to-know
1981 KZ750E2
www.kzrider.com/forum/11-projects/604901...z750e-project-thread
The following user(s) said Thank You: tmeric7
Please Log in or Create an account to join the conversation.
- hardrockminer
-
- Offline
- Sustaining Member
-

Registered
- Posts: 3104
- Thanks: 1217
Re: more things I don't know about carbs: VM26SS
07 Sep 2020 14:01 - 07 Sep 2020 14:07
It's impossible at this point to know what version of carbs are on your bike. The A2 model used VM26SS carbs with 15 pilots, 105 mains, 5DL31 needles and O5 needle jets. The A1 model used the same carbs with 17.5 pilots, 107.5 mains, 5CN8 needles and O6 needle jets. Both years used 1.5 mm cutaway. (In '79 they went to 2.5.) You say yours have 5CN8 needles, which suggests A1 version, but that's not definitive by a long shot. The carbs may have been switched at some point, or A1 needles may have been installed to richen things up a bit. Or it may have been a set of '77 carbs left over at the start of the new bike season. Hard to say unless you have the complete bike history.
Kawasaki went through some hoops between '73 and '79 as they attempted to comply with tighter emissions levels. To meet new regs they made a number of mods, mostly downsizing the pilots, mains and needle jets. The poorest version of the VM26 carbs was '78, although the carb bodies were essentially the same as '76 and '77. But the internals were different.
Hardly anyone changes the needle jets during a rebuild, so you can get a pretty solid idea of your carb year by popping a needle jet. If it's an O6, matched with a 5CN8 needle then I would be confident that you have the '77 version. If it's an O5, then I would suspect someone changed the needles on an A2 version at some point. Likely to try to get more fuel into the engine.
My opinion (not shared by everyone) is that a carb rebuild should replace the needles and needle jets because they go oval from wearing against each other as the throttle opens and closes. I would not bother changing pilots or mains that look clean, except when re-sizing them due to other mods. I would also change any non-metal parts, like gaskets, O-rings, etc.
If your bike has stock air intake and stock exhaust I would suggest going back to standard specs for an A2 or A1 bike. If I wanted to go with stacks or header or both....I would consult zed1015 on how to properly jet my carbs.
Do your carbs have pilot screws on the bottom at the manifold side? I think you said they have fuel/air screws. I can't remember what the '78 version used, but I believe the '77 version had pilot screws underneath and not fuel/air screws. Memory is poor though.
Edited to add...to remove a needle jet...remove the bowl, float mechanism, main jet & diffuser, carb top & slide mechanism. Looking down from the top you can see the needle jet. Drop a wooden dowel down on top of the jet and tap gently on the other end with a small hammer. The jet should pop out the main jet tunnel. If you check carefully you will see the jet number scribed on the side.
Kawasaki went through some hoops between '73 and '79 as they attempted to comply with tighter emissions levels. To meet new regs they made a number of mods, mostly downsizing the pilots, mains and needle jets. The poorest version of the VM26 carbs was '78, although the carb bodies were essentially the same as '76 and '77. But the internals were different.
Hardly anyone changes the needle jets during a rebuild, so you can get a pretty solid idea of your carb year by popping a needle jet. If it's an O6, matched with a 5CN8 needle then I would be confident that you have the '77 version. If it's an O5, then I would suspect someone changed the needles on an A2 version at some point. Likely to try to get more fuel into the engine.
My opinion (not shared by everyone) is that a carb rebuild should replace the needles and needle jets because they go oval from wearing against each other as the throttle opens and closes. I would not bother changing pilots or mains that look clean, except when re-sizing them due to other mods. I would also change any non-metal parts, like gaskets, O-rings, etc.
If your bike has stock air intake and stock exhaust I would suggest going back to standard specs for an A2 or A1 bike. If I wanted to go with stacks or header or both....I would consult zed1015 on how to properly jet my carbs.
Do your carbs have pilot screws on the bottom at the manifold side? I think you said they have fuel/air screws. I can't remember what the '78 version used, but I believe the '77 version had pilot screws underneath and not fuel/air screws. Memory is poor though.
Edited to add...to remove a needle jet...remove the bowl, float mechanism, main jet & diffuser, carb top & slide mechanism. Looking down from the top you can see the needle jet. Drop a wooden dowel down on top of the jet and tap gently on the other end with a small hammer. The jet should pop out the main jet tunnel. If you check carefully you will see the jet number scribed on the side.
I have several restored bikes along with a 2006 Goldwing with a sidecar.
Last edit: 07 Sep 2020 14:07 by hardrockminer.
The following user(s) said Thank You: tmeric7
Please Log in or Create an account to join the conversation.
- tmeric7
-
Topic Author
- Offline
- User
-

Registered
- Posts: 12
- Thanks: 2
Re: more things I don't know about carbs: VM26SS
08 Sep 2020 04:22
Thank you for the feedback! This is very valuable. The manuals I have (and use closely) are great, but the input from those with experience is key.
To answer the questions in your posts...
As far as I can tell, the bike is all stock except for some electronic ignition from Dynatech: "Dynas Ignition." That's a bit of a black box to me because, of course, no info in my manuals. There are no engine mods that I can tell. It has stock air box and exhaust. That's probably the most important info, but I'm happy to answer the rest.
First, very brief history: I have owned the motorcycle for over 3 years. It ran when I got it, but I wasn't happy with it. I rebuilt carbs in my GT750 with good success, so that is where I started with this "the first time" over 2 years ago. It never ran well (worse) after I got it together, so it has sat until now when I have some time. I am doing more than carbs. There is a lack of electrical power throughout multiple systems that I have been working to resolve.
I went over the whole electrical system and cleaned all connections. I will put on new + and - battery cables and a fresh battery before startup.
I tensioned the timing chain. I checked the valve clearances and changed 4 shims (all by 0.005 or 0.010 in).
I tested compression 2 years ago. I did not take notes like I am now, but I "think" it was "OK." I plan to recheck when I get it together.
I will put fresh fuel in in on startup. I have 2 sets of spark plugs, the ones it came with and a set I bought before. They looked rich, sooty. I cleaned and regapped them all.
The choke seems to work fine, and plungers seem good (to me, but I'm the guy who said the spark was good on my truck and I actually needed an ignition coil).
In my last rebuild I did do a vacuum sync. That did not help (other problems). I will again. In the past rebuild I checked the fuel level in the bowl with the clear tube screwed into the drain plug. I will again. (Has not had fuel recently).
I have already done the mechanical sync.
It has pilot (fuel) screws on the bottom of the manifold side. I'll try to check the needle jets. I see that, in addition to the other '77 parts, the pilot jet is a 17.5, matching the A1.
I have *not* checked the timing because I don't know how to do it with the aftermarket ignition (not in my manuals).
Thanks again!
To answer the questions in your posts...
As far as I can tell, the bike is all stock except for some electronic ignition from Dynatech: "Dynas Ignition." That's a bit of a black box to me because, of course, no info in my manuals. There are no engine mods that I can tell. It has stock air box and exhaust. That's probably the most important info, but I'm happy to answer the rest.
First, very brief history: I have owned the motorcycle for over 3 years. It ran when I got it, but I wasn't happy with it. I rebuilt carbs in my GT750 with good success, so that is where I started with this "the first time" over 2 years ago. It never ran well (worse) after I got it together, so it has sat until now when I have some time. I am doing more than carbs. There is a lack of electrical power throughout multiple systems that I have been working to resolve.
I went over the whole electrical system and cleaned all connections. I will put on new + and - battery cables and a fresh battery before startup.
I tensioned the timing chain. I checked the valve clearances and changed 4 shims (all by 0.005 or 0.010 in).
I tested compression 2 years ago. I did not take notes like I am now, but I "think" it was "OK." I plan to recheck when I get it together.
I will put fresh fuel in in on startup. I have 2 sets of spark plugs, the ones it came with and a set I bought before. They looked rich, sooty. I cleaned and regapped them all.
The choke seems to work fine, and plungers seem good (to me, but I'm the guy who said the spark was good on my truck and I actually needed an ignition coil).
In my last rebuild I did do a vacuum sync. That did not help (other problems). I will again. In the past rebuild I checked the fuel level in the bowl with the clear tube screwed into the drain plug. I will again. (Has not had fuel recently).
I have already done the mechanical sync.
It has pilot (fuel) screws on the bottom of the manifold side. I'll try to check the needle jets. I see that, in addition to the other '77 parts, the pilot jet is a 17.5, matching the A1.
I have *not* checked the timing because I don't know how to do it with the aftermarket ignition (not in my manuals).
Thanks again!
2020 Royal Enfield INT650
1981 Honda CM400
1978 KZ1000A2
1974 Suzi GT750
1971 Honda CL450
1981 Honda CM400
1978 KZ1000A2
1974 Suzi GT750
1971 Honda CL450
The following user(s) said Thank You: Mikaw
Please Log in or Create an account to join the conversation.
- hardrockminer
-
- Offline
- Sustaining Member
-

Registered
- Posts: 3104
- Thanks: 1217
Re: more things I don't know about carbs: VM26SS
08 Sep 2020 05:06
If you want to save time and be less messy with the float check you should read this thread.
www.kzrider.com/forum/forum-index/3-carb...n-setting-fuel-level
The float level for A1 carbs is 3 mm and for A1 carbs is 4 mm.
www.kzrider.com/forum/forum-index/3-carb...n-setting-fuel-level
The float level for A1 carbs is 3 mm and for A1 carbs is 4 mm.
I have several restored bikes along with a 2006 Goldwing with a sidecar.
The following user(s) said Thank You: tmeric7
Please Log in or Create an account to join the conversation.
- Mikaw
-
- Offline
- Sustaining Member
-

Registered
- Posts: 4826
- Thanks: 1851
Re: more things I don't know about carbs: VM26SS
08 Sep 2020 07:13
Sounds like things are close. I would be looking at the electrical problems also along with the carbs. You never really mentioned what type of drivability issues your having.
1976 KZ 900 A4
kzrider.com/forum/11-projects/613548-1976-kz-900-a4
1976 KZ 900 B1 LTD
1978 KZ 1000 B2 LTD
1980 KZ 750 E1
Kowledge Speaks, But Wisdom Listens.
Jimi Hendrix.
1976 KZ 900 B1 LTD
1978 KZ 1000 B2 LTD
1980 KZ 750 E1
Kowledge Speaks, But Wisdom Listens.
Jimi Hendrix.
Please Log in or Create an account to join the conversation.
- kevski
-
- Offline
- User
-

Registered
- Posts: 450
- Thanks: 171
Re: more things I don't know about carbs: VM26SS
08 Sep 2020 10:57
A2 carbs will have a brass vacuum take off stub on number three carb for vacuum operated petcock, so if they are, numbers 1, 3 and 4 will have stubs 1 and 4 are breathers and 3 the vacuum, A2a carbs will have an accelerator pump system on them, A1 carbs will not have vacuum stubs, pictures of the rear and underneath of your carbs will help us make a better identification.
The following user(s) said Thank You: Scirocco, hardrockminer, tmeric7
Please Log in or Create an account to join the conversation.
- tmeric7
-
Topic Author
- Offline
- User
-

Registered
- Posts: 12
- Thanks: 2
Re: more things I don't know about carbs: VM26SS
09 Sep 2020 10:21
Thanks!
kevski,
There is no brass stub on #3 for petcock vacuum. There are brass stubs on #2 and #4 for breathers. Here is the rear.
And here is underneath.
I'm not sure from your comment if A1 has no stubs "at all," but there is nothing for petcock vacuum and the 2 present were previously breathers.
Everything else I see is consistent with A1, except for the main jet, which is 110, closer to A1 (107.5) than A2 (105). Also, P/N's 42, 43, 44, and 45 below are identified for "late 1977 on" in Clymer. Mine does not have them.
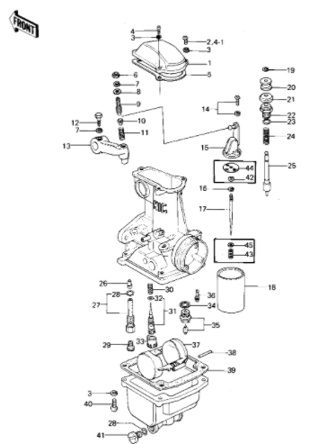
This leaves me with one question at this point... The petcock is vacuum activated, and I scratched my head for a second trying to remember where that comes from, because it has not been assembled in a while. It must be that the petcock vacuum hose is attached to the port on the bottom of the rubber "holder" between carb #2 and the engine, P/N 28 in the image below. It has been missing the rubber plug, and I forgot why. Is the a common/acceptable way to draw vacuum to operate the petcock?
hardrockminer,
I went to check the needle jet, and removed all the bottom pieces, but I couldn't get the screws out of the throttle valve slide (heads are buggered up) without removing the connecting shaft. I decided I didn't want to do that *again* (right now) because I've already mechanically synced them. I'll leave that for next time. Practically everything else is A1 configuration, so that's what I'm going to try to get running.
Mikaw,
I didn't want my messages to get too long, and it's been so long that I don't remember clearly, but two things stick out:
1. Very choppy behavior (herky jerky) at low speeds/throttle.
2. I could hear a noise in the vicinity of the valves which will be hard to describe now because it's been so long since I heard it, but some valve was making some relatively soft noise. I'm hoping that setting the valve clearance fixes this.
Thanks again!
Tristan
kevski,
There is no brass stub on #3 for petcock vacuum. There are brass stubs on #2 and #4 for breathers. Here is the rear.
And here is underneath.
I'm not sure from your comment if A1 has no stubs "at all," but there is nothing for petcock vacuum and the 2 present were previously breathers.
Everything else I see is consistent with A1, except for the main jet, which is 110, closer to A1 (107.5) than A2 (105). Also, P/N's 42, 43, 44, and 45 below are identified for "late 1977 on" in Clymer. Mine does not have them.
This leaves me with one question at this point... The petcock is vacuum activated, and I scratched my head for a second trying to remember where that comes from, because it has not been assembled in a while. It must be that the petcock vacuum hose is attached to the port on the bottom of the rubber "holder" between carb #2 and the engine, P/N 28 in the image below. It has been missing the rubber plug, and I forgot why. Is the a common/acceptable way to draw vacuum to operate the petcock?
hardrockminer,
I went to check the needle jet, and removed all the bottom pieces, but I couldn't get the screws out of the throttle valve slide (heads are buggered up) without removing the connecting shaft. I decided I didn't want to do that *again* (right now) because I've already mechanically synced them. I'll leave that for next time. Practically everything else is A1 configuration, so that's what I'm going to try to get running.
Mikaw,
I didn't want my messages to get too long, and it's been so long that I don't remember clearly, but two things stick out:
1. Very choppy behavior (herky jerky) at low speeds/throttle.
2. I could hear a noise in the vicinity of the valves which will be hard to describe now because it's been so long since I heard it, but some valve was making some relatively soft noise. I'm hoping that setting the valve clearance fixes this.
Thanks again!
Tristan
2020 Royal Enfield INT650
1981 Honda CM400
1978 KZ1000A2
1974 Suzi GT750
1971 Honda CL450
1981 Honda CM400
1978 KZ1000A2
1974 Suzi GT750
1971 Honda CL450
Please Log in or Create an account to join the conversation.
- Mikaw
-
- Offline
- Sustaining Member
-

Registered
- Posts: 4826
- Thanks: 1851
Re: more things I don't know about carbs: VM26SS
09 Sep 2020 11:09
My experience with surging or hunting at lower rpm is air leaks at the manifold. I also experienced a random backfire through the carbs. It sounded like the bike would fart. Maybe that’s the noise that your hearing. I reused the old manifolds and tried to seal them with RTV and it was a waste of time and riding. If your manifolds age is unknown I’d suggest changing them for the $80 cost. Well worth it.
1976 KZ 900 A4
kzrider.com/forum/11-projects/613548-1976-kz-900-a4
1976 KZ 900 B1 LTD
1978 KZ 1000 B2 LTD
1980 KZ 750 E1
Kowledge Speaks, But Wisdom Listens.
Jimi Hendrix.
1976 KZ 900 B1 LTD
1978 KZ 1000 B2 LTD
1980 KZ 750 E1
Kowledge Speaks, But Wisdom Listens.
Jimi Hendrix.
Please Log in or Create an account to join the conversation.
- tmeric7
-
Topic Author
- Offline
- User
-

Registered
- Posts: 12
- Thanks: 2
Re: more things I don't know about carbs: VM26SS
09 Sep 2020 12:22
I'm sorry, I'm not sure what part exactly you are referring to. Do you mean the rubber pieces between the carbs and engine?
2020 Royal Enfield INT650
1981 Honda CM400
1978 KZ1000A2
1974 Suzi GT750
1971 Honda CL450
1981 Honda CM400
1978 KZ1000A2
1974 Suzi GT750
1971 Honda CL450
Please Log in or Create an account to join the conversation.
Moderators: Street Fighter LTD
