Tuning pilot screws
- Irish Yobbo
-
Topic Author
- Offline
- User
-

Registered
- Posts: 380
- Thanks: 93
Tuning pilot screws
18 Mar 2019 13:56 - 18 Mar 2019 13:57
Hi all,
I recently cleaned the carbs on my KZ750 H2, mainly to clear out the suspected pilot jets, screws and passages, as the bike was misfiring at low revs and bogging down on acceleration at low rpm.
The carbs are now clean, the pilot screws were filthy since they did't have any plugs, and I suspect that water and dirt had slowly seeped in as the passages under the screws were just full of gunk. I blew that all out, cleaned it all, and reassembled.
I bought a carb kit from crusinimage, which included all the brass parts and o-rings. This seemed to work fine except that the main nozzle (that goes under the primary jet) was slightly too large, and would have required a bit of force to get it into place, so I kept the original. I also replaced the pilot screws as the old ones are munted, one of them required a bolt extractor to remove it.
Now here's the problem, I can start and run the bike fine, it idles nicely now. But there's still no power under load. If I bring it to 2-2.5k rpm and ease off the clutch it just starts misfiring and dies. Starting from a base of 2 turns out from seated, I wound the screws out further, then further, and it made no difference. I then would them back in *all the way* - and the bike still seemed to behave the same.
What should I expect from winding the pilot screws in and out? At the moment, they seem to do nothing at all.
I recently cleaned the carbs on my KZ750 H2, mainly to clear out the suspected pilot jets, screws and passages, as the bike was misfiring at low revs and bogging down on acceleration at low rpm.
The carbs are now clean, the pilot screws were filthy since they did't have any plugs, and I suspect that water and dirt had slowly seeped in as the passages under the screws were just full of gunk. I blew that all out, cleaned it all, and reassembled.
I bought a carb kit from crusinimage, which included all the brass parts and o-rings. This seemed to work fine except that the main nozzle (that goes under the primary jet) was slightly too large, and would have required a bit of force to get it into place, so I kept the original. I also replaced the pilot screws as the old ones are munted, one of them required a bolt extractor to remove it.
Now here's the problem, I can start and run the bike fine, it idles nicely now. But there's still no power under load. If I bring it to 2-2.5k rpm and ease off the clutch it just starts misfiring and dies. Starting from a base of 2 turns out from seated, I wound the screws out further, then further, and it made no difference. I then would them back in *all the way* - and the bike still seemed to behave the same.
What should I expect from winding the pilot screws in and out? At the moment, they seem to do nothing at all.
1981 KZ750 LTD
Last edit: 18 Mar 2019 13:57 by Irish Yobbo.
Please Log in or Create an account to join the conversation.
- Scirocco
-
- Offline
- Premium Member
-

Registered
- Never change a running system
- Posts: 4420
- Thanks: 2269
Re: Tuning pilot screws
18 Mar 2019 14:13
Are the carb rubber boots soft and not hard and britle, could be an air leak that match to your Problem.
Are you running pot filter or stock air filter case? Any pics of your carb rebuild?
Are you running pot filter or stock air filter case? Any pics of your carb rebuild?
My 1975 Z 1 B 900 Project
www.kzrider.com/forum/11-projects/605133...ears-deep-sleep-mode
www.kzrider.com/forum/11-projects/605133...ears-deep-sleep-mode
Please Log in or Create an account to join the conversation.
- Irish Yobbo
-
Topic Author
- Offline
- User
-

Registered
- Posts: 380
- Thanks: 93
Re: Tuning pilot screws
18 Mar 2019 14:38 - 18 Mar 2019 14:45
I'm pretty confident there are no air leaks. I've done a leak test with parts cleaner, spraying on the boots and the vacuum ports with no noticable difference, and the boots are in good condition. I'm running with the stock airbox and a paper filter that is only a few months old.
No pictures of the rebuild I'm afraid. I tested everything I thought was important before putting them back on the bike - the piston heights, making sure all the butterflies were synced, that the diaphragms are good and move freely, and that the floats have their height set correctly.
Also, when revving the engine, the rev don't 'hang' like I'm used to when an engine has an air leak.
No pictures of the rebuild I'm afraid. I tested everything I thought was important before putting them back on the bike - the piston heights, making sure all the butterflies were synced, that the diaphragms are good and move freely, and that the floats have their height set correctly.
Also, when revving the engine, the rev don't 'hang' like I'm used to when an engine has an air leak.
1981 KZ750 LTD
Last edit: 18 Mar 2019 14:45 by Irish Yobbo.
Please Log in or Create an account to join the conversation.
- Scirocco
-
- Offline
- Premium Member
-

Registered
- Never change a running system
- Posts: 4420
- Thanks: 2269
Re: Tuning pilot screws
18 Mar 2019 15:10
Sorry Irish Yobbo
May be I Sound stupid. Have to ask about your KZ750 H2 bike, Google say you have a twin 750, is it right?
Please add your bike ID/model to your Avatar Profil for a better reponse. Argh, my old school english baisics made me look like an novice/rookie/idiot.
May be I Sound stupid. Have to ask about your KZ750 H2 bike, Google say you have a twin 750, is it right?
Please add your bike ID/model to your Avatar Profil for a better reponse. Argh, my old school english baisics made me look like an novice/rookie/idiot.
My 1975 Z 1 B 900 Project
www.kzrider.com/forum/11-projects/605133...ears-deep-sleep-mode
www.kzrider.com/forum/11-projects/605133...ears-deep-sleep-mode
Please Log in or Create an account to join the conversation.
- Irish Yobbo
-
Topic Author
- Offline
- User
-

Registered
- Posts: 380
- Thanks: 93
Re: Tuning pilot screws
18 Mar 2019 15:35
I was sure I had that on my profile - fixed now.
It's a 1981 KZ750 LTD inline 4 model. The H1 and H2 were both sold as the LTD I believe, I've found that some parts that fir a 'LTD' model don't fit mine as they're for the H1 instead of the H2, so I tend to use H2 when searching for it.
So I have 4 keihin CV34 carbs.
It's a 1981 KZ750 LTD inline 4 model. The H1 and H2 were both sold as the LTD I believe, I've found that some parts that fir a 'LTD' model don't fit mine as they're for the H1 instead of the H2, so I tend to use H2 when searching for it.
So I have 4 keihin CV34 carbs.
1981 KZ750 LTD
Please Log in or Create an account to join the conversation.
- gordone
-
- Offline
- Sustaining Member
-

Registered
- Posts: 1529
- Thanks: 93
Re: Tuning pilot screws
18 Mar 2019 15:43
My experience you will get the bike run 90% / quite okay with factory setting pilot screw. And fine tuning shall take you to 99%...
So the large issue you taking about, must be something else?
I have learned you shall start checking valve clearness first, check them to be within speck and then nove forward to the carbs.
I have ordered Gunson colortune G4074 for tuning the pilot jet, but haven’t tested it yet
So the large issue you taking about, must be something else?
I have learned you shall start checking valve clearness first, check them to be within speck and then nove forward to the carbs.
I have ordered Gunson colortune G4074 for tuning the pilot jet, but haven’t tested it yet
1981 KZ650-D4, with 1981 z750L engine (Wiensco 810 big bore).
Project:
www.kzrider.com/forum/11-projects/607213...sr-1981-z750l-engine
Project:
www.kzrider.com/forum/11-projects/607213...sr-1981-z750l-engine
Please Log in or Create an account to join the conversation.
- JR
-
- Offline
- Sustaining Member
-

Registered
- Posts: 2964
- Thanks: 483
Re: Tuning pilot screws
18 Mar 2019 15:49 - 18 Mar 2019 15:52
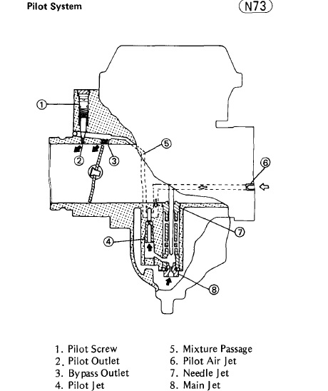
If you suspect the pilot system then have you checked for a blockage at the pilot bypass? #3 in the diagram below. A small pin or wire with the tip bent at 90 degrees can be used to poke out the 3 small holes. You may also be able to check if they are clear by squirting carb cleaner in 4 and watching (eye protection) for exit at 3
I had a bad stumble at 2500 - 3000 rpm caused by blockage here which I chased for months
I have same Keihin CV34 carbs
Might be something worth checking ?
I had a bad stumble at 2500 - 3000 rpm caused by blockage here which I chased for months
I have same Keihin CV34 carbs
Might be something worth checking ?
1980 kz750E1, Delkevic exhaust
Attachments:
Last edit: 18 Mar 2019 15:52 by JR.
The following user(s) said Thank You: gordone
Please Log in or Create an account to join the conversation.
- Irish Yobbo
-
Topic Author
- Offline
- User
-

Registered
- Posts: 380
- Thanks: 93
Re: Tuning pilot screws
18 Mar 2019 16:03
Thanks gordone, I checked and adjusted the valves only a few months ago, along with changing the head gasket to fix a leak and doing the clutch. I would have normally done the carbs at the same time but I didn't want to get it back together and not have it running well, and wondering which part of the bike isn't working properly. So in this case I'm pretty confident it's the carbs. The timing advance was also cleaned and greased when I did the valves.
@ JR I did check for blockages there, I did quite a bit of searching on this forum to make sure I was covering all grounds. It was probably your forum post and ones like it that lead me to believe the pilot jets were the problem, as a low-rpm stuble is what I was planning on fixing. I soaked all the passages with carb cleaner and then blased them through with compressed air, and after that blocked the screw hole with my finder while spring into the bottom of the carb - carb cleaner streamed out of the holes freely.
Really what I'm trying to gauge is what effect winding the pilot screws in and out should make, because right now they seem to do nothing at all. Whether I wind them all the way in until seated or if they are 5 turns out, the effect is the same. This does make me feel that they could be blocked, but I can't see how that could have happened - and to all of them when I was specifically focused on keeping them clean.
@ JR I did check for blockages there, I did quite a bit of searching on this forum to make sure I was covering all grounds. It was probably your forum post and ones like it that lead me to believe the pilot jets were the problem, as a low-rpm stuble is what I was planning on fixing. I soaked all the passages with carb cleaner and then blased them through with compressed air, and after that blocked the screw hole with my finder while spring into the bottom of the carb - carb cleaner streamed out of the holes freely.
Really what I'm trying to gauge is what effect winding the pilot screws in and out should make, because right now they seem to do nothing at all. Whether I wind them all the way in until seated or if they are 5 turns out, the effect is the same. This does make me feel that they could be blocked, but I can't see how that could have happened - and to all of them when I was specifically focused on keeping them clean.
1981 KZ750 LTD
The following user(s) said Thank You: JR
Please Log in or Create an account to join the conversation.
- Scirocco
-
- Offline
- Premium Member
-

Registered
- Never change a running system
- Posts: 4420
- Thanks: 2269
Re: Tuning pilot screws
18 Mar 2019 16:11
Under some rare conditions the Butterfly shaft bore/seal can get weak by a lot of play = additionally air can lean out the air fuel mixture.
My 1975 Z 1 B 900 Project
www.kzrider.com/forum/11-projects/605133...ears-deep-sleep-mode
www.kzrider.com/forum/11-projects/605133...ears-deep-sleep-mode
Attachments:
Please Log in or Create an account to join the conversation.
- Irish Yobbo
-
Topic Author
- Offline
- User
-

Registered
- Posts: 380
- Thanks: 93
Re: Tuning pilot screws
18 Mar 2019 16:15
Hmmm - that's definitely worth looking at. I'll give it a spray-down with parts cleaner while running to see if there is any change.
1981 KZ750 LTD
Please Log in or Create an account to join the conversation.
- JR
-
- Offline
- Sustaining Member
-

Registered
- Posts: 2964
- Thanks: 483
Re: Tuning pilot screws
18 Mar 2019 16:22
Thanks for the clarification Irish
I have never found the pilot screws to make any noticeable impact on performance. Well, maybe ........ might make starting a bit easier or a bit difficult depending on direction turned and that's about it. I really only found turning in or out to make small changes in plug colour once the fuel level is correct in the bowl. In other words very little effect as you have seen
Sorry I cant make any helpful suggestions
I have never found the pilot screws to make any noticeable impact on performance. Well, maybe ........ might make starting a bit easier or a bit difficult depending on direction turned and that's about it. I really only found turning in or out to make small changes in plug colour once the fuel level is correct in the bowl. In other words very little effect as you have seen
Sorry I cant make any helpful suggestions
1980 kz750E1, Delkevic exhaust
Please Log in or Create an account to join the conversation.
- Nessism
-
- Offline
- Sustaining Member
-

Registered
- Posts: 7975
- Thanks: 3343
Re: Tuning pilot screws
18 Mar 2019 16:33
Did you remove the pilot jets and bleed pipes and make sure the orifices are open? In my experience spraying carb cleaner through the passages doesn't always get all the gunk out. I greatly prefer to break each carb down all the way and soak the bodies and parts in carb dip. Another thing, the OEM Keihin carb jets are superior quality compared against aftermarket. You might want to clean the original parts and install them back.
Ed
Carb O-ring Kits : www.kzrider.com/forum/3-carburetor/61807...-o-ring-kits?start=0
www.kzrider.com/forum/faq-wiki/618026-new-owner-things-to-know
1981 KZ750E2
www.kzrider.com/forum/11-projects/604901...z750e-project-thread
Carb O-ring Kits : www.kzrider.com/forum/3-carburetor/61807...-o-ring-kits?start=0
www.kzrider.com/forum/faq-wiki/618026-new-owner-things-to-know
1981 KZ750E2
www.kzrider.com/forum/11-projects/604901...z750e-project-thread
Please Log in or Create an account to join the conversation.
Moderators: Street Fighter LTD
