Idle Problem
- TeK9iNe
-
- Offline
- User
-

Registered
- What did you do!?!
- Posts: 2436
- Thanks: 28
Re: Idle Problem
21 Apr 2011 22:51
Yes, I believe you are correct. The long one that protrudes at the edge of the carb bottom.
Good luck.
Good luck.
Motorcycle Shop Owner/Operator
79 Kawie Z1000 LTD
81 Kawie Z1000 CSR
83 Honda VT750C A
85 Kawie GPZ900 A2
86 Zukie GS1150 EG
93 Yamie XV1100 E
Lucky to have rolled many old bikes through my doors
79 Kawie Z1000 LTD
81 Kawie Z1000 CSR
83 Honda VT750C A
85 Kawie GPZ900 A2
86 Zukie GS1150 EG
93 Yamie XV1100 E
Lucky to have rolled many old bikes through my doors
Please Log in or Create an account to join the conversation.
- Patton
-
- Offline
- KZr Legend
-

Registered
- Posts: 18567
- Thanks: 2103
Re: Idle Problem
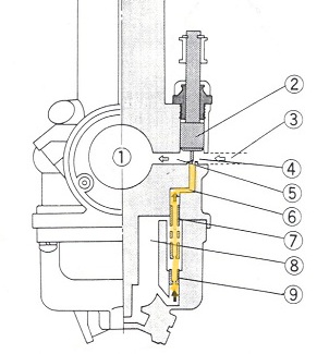
22 Apr 2011 00:35BIGKEVIN wrote: Is the starter pipe the thin copper pipe that goes into the bowl ?
Might also describe the overflow pipe that attaches at bottom of float bowl.
Good Fortune!
1973 Z1
KZ900 LTD
KZ900 LTD
Please Log in or Create an account to join the conversation.
- BIGKEVIN
-
Topic Author
- Offline
- User
-

Registered
- Posts: 419
- Thanks: 1
Re: Idle Problem
23 Apr 2011 08:41
I took the carbs apart yesterday. Took the choke plungers out of all 4 carbs and was able to shoot carb cleaner into the hole where the plungers came out of and got carb cleaner out of all 4 starter pipes and into the carb bore. Put the carbs back together and back on the bike, still no choke. Is there something that I am missing ?
1976 KZ900
2006 ZX6R
2006 ZX6R
Please Log in or Create an account to join the conversation.
- Patton
-
- Offline
- KZr Legend
-

Registered
- Posts: 18567
- Thanks: 2103
Re: Idle Problem
23 Apr 2011 10:08 - 23 Apr 2011 10:09BIGKEVIN wrote: I took the carbs apart yesterday. Took the choke plungers out of all 4 carbs and was able to shoot carb cleaner into the hole where the plungers came out of and got carb cleaner out of all 4 starter pipes and into the carb bore. Put the carbs back together and back on the bike, still no choke. Is there something that I am missing ?
Am presupposing that carb cleaner was also sprayed into entrances of starter passages to assure spray exits into the carb bores.
Throttle slides must be in fully closed position (i.e., all the way down) to maximize the enrichment function.
In other words, don't touch the throttle grip during attempt to start a cold engine while choke lever is pulled up in ON position.
still no choke --- Are spark plugs still completely dry after attempting to crank cold engine with choke ON and not having touched the throttle grip?
Good Fortune!
1973 Z1
KZ900 LTD
KZ900 LTD
Last edit: 23 Apr 2011 10:09 by Patton.
Please Log in or Create an account to join the conversation.
- BIGKEVIN
-
Topic Author
- Offline
- User
-

Registered
- Posts: 419
- Thanks: 1
Re: Idle Problem
24 Apr 2011 21:04
I did not spray carb cleaner into the starter passages. I just took the plungers out and sprayed into it and the carb cleaner came out of the starter pipe and also went into the carb bore. I did just try starting the bike with the choke on and no throttle. After trying for a few minutes, I took the #1 and #4 plugs out and they were not wet. They did smell like gas but were not wet.
1976 KZ900
2006 ZX6R
2006 ZX6R
Please Log in or Create an account to join the conversation.
- Patton
-
- Offline
- KZr Legend
-

Registered
- Posts: 18567
- Thanks: 2103
Re: Idle Problem
24 Apr 2011 23:19
Couple of general questions ---
Carbs bench-synced?
Fuel level determined using clear tube method?
Visually observed fat blue sparks on plugs?
Ignition timing verified?
Compression test performed?
Good fortune!
Carbs bench-synced?
Fuel level determined using clear tube method?
Visually observed fat blue sparks on plugs?
Ignition timing verified?
Compression test performed?
Good fortune!
1973 Z1
KZ900 LTD
KZ900 LTD
Please Log in or Create an account to join the conversation.
- BIGKEVIN
-
Topic Author
- Offline
- User
-

Registered
- Posts: 419
- Thanks: 1
Re: Idle Problem
25 Apr 2011 19:11
I bench synced the carbs. Have not done the clear tube test to check the fuel level. I checked the spark plugs today and none of them had a fat blue spark, they were yellow. I notice that when checking the spark, the #2 plug wire would give you a good shock but the other 3 wouldn't. I'll have to get a friend of mine check the timing and compression. I also noticed that after starting the bike and keeping it idling at 1,000 rpm with the throttle, if you pulled up the choke the rpm's would raise. Does that sound right ?
1976 KZ900
2006 ZX6R
2006 ZX6R
Please Log in or Create an account to join the conversation.
- Patton
-
- Offline
- KZr Legend
-

Registered
- Posts: 18567
- Thanks: 2103
Re: Idle Problem
25 Apr 2011 23:24BIGKEVIN wrote: I bench synced the carbs. Have not done the clear tube test to check the fuel level. I checked the spark plugs today and none of them had a fat blue spark, they were yellow. I notice that when checking the spark, the #2 plug wire would give you a good shock but the other 3 wouldn't. I'll have to get a friend of mine check the timing and compression. I also noticed that after starting the bike and keeping it idling at 1,000 rpm with the throttle, if you pulled up the choke the rpm's would raise. Does that sound right ?
Are the ignition coils the original coils with permanently built-in spark plug wires that came with the bike?
If so, the old plug wires may be hard, cracked, and leaking voltage, which could account for the weak spark.
Needing acceptable compression (verify valve clearances being within specs), and fat blue properly timed spark, together with properly functioning carbs, and adequate clean fuel supply to carbs.
Good Fortune!
1973 Z1
KZ900 LTD
KZ900 LTD
Please Log in or Create an account to join the conversation.
- BIGKEVIN
-
Topic Author
- Offline
- User
-

Registered
- Posts: 419
- Thanks: 1
Re: Idle Problem
11 May 2011 20:06
I replaced the coils with Accel super coils. Started the bike and it sounded good. Rode the bike and it seemed ok. Came back and checked the voltage to the coils and I have voltage to the left coil for #1 and #4 plugs, but I do not have any voltage to the right side coil for plugs 2 and 3. After riding the bike, pipes 1, 3 and 4 are very hot and pipe 2 is not as hot. Should I have voltage at both coils all the time ?
1976 KZ900
2006 ZX6R
2006 ZX6R
Please Log in or Create an account to join the conversation.
- Motor Head
-
- Offline
- User
-

Registered
- FIX UP YOUR BIKE RIGHT AND CHEAP
- Posts: 5137
- Thanks: 393
Re: Idle Problem
11 May 2011 22:49
Yes your should, and if you did not, then you would loose 2 cylinders and not just 1. So if you are seeing only 1 cylinder not getting hot, the coil would have to have voltage to it, also the Dwell signal from points or electronic ignition. So after a compression test, you might look for vacuum leaks, and plugged up carb circuits. Some carbs have screens on the inlet needle and seat/ float valve, which can plug. See which plugs are not sparking, if any, by laying them out across the head and Kicking/ cranking the motor. Maybe its just a bad plug?
1982 KZ1000LTD K2 Vance & Hines 4-1 ACCEL COILS Added Vetter fairing & Bags. FOX Racing rear Shocks, Braced Swing-arm, Fork Brace, Progressive Fork Springs RT Gold Emulators, APE Valve Springs, 1166 Big Bore kit, RS34's, GPZ cams.
1980 KZ550LTD C1 Stock SOLD Miss it
1979 MAZDA RX7 in the works, 13B...
1980 KZ550LTD C1 Stock SOLD Miss it
1979 MAZDA RX7 in the works, 13B...
Please Log in or Create an account to join the conversation.
- BIGKEVIN
-
Topic Author
- Offline
- User
-

Registered
- Posts: 419
- Thanks: 1
Re: Idle Problem
12 May 2011 21:02
I went back out to check on this today and I am seeing a voltage at both coils. The voltage is about 8.45 volts. I have 12 volts at the battery. Is 8.45 volts good enough ? I don't think that I should be losing 3.5 volts.
1976 KZ900
2006 ZX6R
2006 ZX6R
Please Log in or Create an account to join the conversation.
- BIGKEVIN
-
Topic Author
- Offline
- User
-

Registered
- Posts: 419
- Thanks: 1
Re: Idle Problem
16 May 2011 22:28
I started checking for the loss of voltage today. I had 12 volts going into the ignition switch on the white wire but I had about 6 volts on the brown wire at the switch. I believe that when I turn the key on that the voltage on the white drops. I did not have this problem prior to getting into the head light today. Now whenever the key is turned on the voltage drops from 12 volts to about 5 volts. Does anyone have any ideas ? The bike is a 1976 KZ900.
1976 KZ900
2006 ZX6R
2006 ZX6R
Please Log in or Create an account to join the conversation.
Moderators: Street Fighter LTD
