1979 KZ400H Progress
- Dr. Frankenstein
-
Topic Author
- Offline
- User
-

Registered
- Posts: 120
- Thanks: 20
1979 KZ400H Progress
11 Aug 2023 09:32 - 11 Aug 2023 09:36
I thought I'd take some pics of the 1979 H-model I'm working on, plus post a few questions...here she is so far; I took it down to the frame, repainted it with Rustoleum Satin Black and did the tank in the same, with a coating of Duplicolor Clear Effex, topped with SprayMax 2K - that stuff is great! It gives a nice hard, clear clearcoat.
Here she is, still on the slab. I took the engine out and rebuilt the top end, and am happy to report I got the cam timed right when I reassembled it, so I have high hopes that it should fire up when the time comes...
Question though: where does this black/yellow wire go?
...and here's a problem - this spring for the brake lever used to attach to the muffler through a little hole in the muffler mount, but that muffler was toast. It was rotted through right at the joint where it attached the pipe. I still have the headers, which are in good shape right up until the joint where they attached to the mufflers, but both mufflers were rotted out. The plan is to find some slip-ons - maybe pea-shooters(?) - but I'm open to suggestions as to how to get the brake pedal functioning again. I was thinking of just drilling a small hole into the frame itself, just above where the spring is in this pic...but I'm open to ideas.
Here she is, still on the slab. I took the engine out and rebuilt the top end, and am happy to report I got the cam timed right when I reassembled it, so I have high hopes that it should fire up when the time comes...
Question though: where does this black/yellow wire go?
...and here's a problem - this spring for the brake lever used to attach to the muffler through a little hole in the muffler mount, but that muffler was toast. It was rotted through right at the joint where it attached the pipe. I still have the headers, which are in good shape right up until the joint where they attached to the mufflers, but both mufflers were rotted out. The plan is to find some slip-ons - maybe pea-shooters(?) - but I'm open to suggestions as to how to get the brake pedal functioning again. I was thinking of just drilling a small hole into the frame itself, just above where the spring is in this pic...but I'm open to ideas.
Last edit: 11 Aug 2023 09:36 by Dr. Frankenstein.
Please Log in or Create an account to join the conversation.
- F64
-
- Offline
- User
-

Registered
- 81-KZ440D2
- Posts: 1145
- Thanks: 415
Re: 1979 KZ400H Progress
11 Aug 2023 12:24
Usually, Black wire with a yellow stripe is a ground wire.
You have to figure out where that wire you are holding goes to. Then you can figure out what to connect it to.
You have to figure out where that wire you are holding goes to. Then you can figure out what to connect it to.
81-KZ440-D2.
Louis Dudzik's GM HEI ignitor conversion installed 2015 s3.amazonaws.com/gpzweb/Ignition/GPZgmHEImod.html
Motogadget m-unit blue installed 2017.
LIC, NY
Louis Dudzik's GM HEI ignitor conversion installed 2015 s3.amazonaws.com/gpzweb/Ignition/GPZgmHEImod.html
Motogadget m-unit blue installed 2017.
LIC, NY
Please Log in or Create an account to join the conversation.
- F64
-
- Offline
- User
-

Registered
- 81-KZ440D2
- Posts: 1145
- Thanks: 415
Re: 1979 KZ400H Progress
11 Aug 2023 12:27 - 11 Aug 2023 13:28
and..... i double posted.... yay
81-KZ440-D2.
Louis Dudzik's GM HEI ignitor conversion installed 2015 s3.amazonaws.com/gpzweb/Ignition/GPZgmHEImod.html
Motogadget m-unit blue installed 2017.
LIC, NY
Louis Dudzik's GM HEI ignitor conversion installed 2015 s3.amazonaws.com/gpzweb/Ignition/GPZgmHEImod.html
Motogadget m-unit blue installed 2017.
LIC, NY
Last edit: 11 Aug 2023 13:28 by F64. Reason: because i'm dumb
Please Log in or Create an account to join the conversation.
- Dr. Frankenstein
-
Topic Author
- Offline
- User
-

Registered
- Posts: 120
- Thanks: 20
Re: 1979 KZ400H Progress
11 Aug 2023 13:24 - 11 Aug 2023 13:31
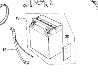
I'm 98% sure that's what plugs into #14, the battery ground in the diagram here - even in the schematic it just shows a ground from the Neg battery post to Ground. And that Kawasaki part #14 (Part No. 26011-1022) not uncoincidentally shows a Black/Yellow striped (male) wire lead... easy enough to make, rather than spend $50 on the 'part', but I'll trace it down just to make sure.
Last edit: 11 Aug 2023 13:31 by Dr. Frankenstein.
Please Log in or Create an account to join the conversation.
- F64
-
- Offline
- User
-

Registered
- 81-KZ440D2
- Posts: 1145
- Thanks: 415
Re: 1979 KZ400H Progress
11 Aug 2023 13:34
If that wire you are holding has a female connector then you could be right.
You could also cut off the female end and put a ring terminal on it and fasten it to ground.
You have a few options for that wire.
You could also cut off the female end and put a ring terminal on it and fasten it to ground.
You have a few options for that wire.
81-KZ440-D2.
Louis Dudzik's GM HEI ignitor conversion installed 2015 s3.amazonaws.com/gpzweb/Ignition/GPZgmHEImod.html
Motogadget m-unit blue installed 2017.
LIC, NY
Louis Dudzik's GM HEI ignitor conversion installed 2015 s3.amazonaws.com/gpzweb/Ignition/GPZgmHEImod.html
Motogadget m-unit blue installed 2017.
LIC, NY
Please Log in or Create an account to join the conversation.
- Dr. Frankenstein
-
Topic Author
- Offline
- User
-

Registered
- Posts: 120
- Thanks: 20
Re: 1979 KZ400H Progress
11 Aug 2023 15:52 - 11 Aug 2023 15:58
I'm sure it does, I just don't know where...the only thing I can think of is, in the schematic it looks like it may attach to the battery ground that comes off the Negative battery post, a part I'll have to make...I have the rear turn signals connected to their black/yellow wires and that stray wire looks like that's the only thing with a B/Y wire I don't have connected, and that does feed into the main wiring harness...
Last edit: 11 Aug 2023 15:58 by Dr. Frankenstein.
Please Log in or Create an account to join the conversation.
- F64
-
- Offline
- User
-

Registered
- 81-KZ440D2
- Posts: 1145
- Thanks: 415
Re: 1979 KZ400H Progress
11 Aug 2023 16:37
You can attach it to a point on the frame if you sand some paint off to make a good connection or you can attach it to the negative terminal bolt.
81-KZ440-D2.
Louis Dudzik's GM HEI ignitor conversion installed 2015 s3.amazonaws.com/gpzweb/Ignition/GPZgmHEImod.html
Motogadget m-unit blue installed 2017.
LIC, NY
Louis Dudzik's GM HEI ignitor conversion installed 2015 s3.amazonaws.com/gpzweb/Ignition/GPZgmHEImod.html
Motogadget m-unit blue installed 2017.
LIC, NY
Please Log in or Create an account to join the conversation.
- sf4t7
-
- Away
- Sustaining Member
-

Registered
- Posts: 949
- Thanks: 775
Re: 1979 KZ400H Progress
11 Aug 2023 20:30
On your brake pedal return spring, I hate to say it since you just painted it, but the simplest solution may be to weld a piece of bar stock to the frame with a bolt thru it to attach the spring.
Scotty
Scotty
Scotty
1974 Z1A
Yoshimura 987, 10.25:1
welded Z1 crank
Andrews 1X Cams
Delkevic 4 into 1
Superbike bars
530 conversion
1974 Z1A
Yoshimura 987, 10.25:1
welded Z1 crank
Andrews 1X Cams
Delkevic 4 into 1
Superbike bars
530 conversion
Please Log in or Create an account to join the conversation.
- Kelly E
-
- Offline
- User
-

Registered
- Never Give Up. Never Surrender
- Posts: 491
- Thanks: 381
Re: 1979 KZ400H Progress
11 Aug 2023 20:54
I would use a 6mm bolt with the head ground into a round knob and welded into a 6mm hole in the frame then painted. It would look nearly stock. There's a few ways to do it, I like to make changes like this look like they were always that way.
The Rust Bros. Garage Collection
1974 Honda CB 550 K0
1975 Honda CB 400F Super Sport
1977 Kawasaki KZ 1000 LTD
1978 Kawasaki KL 250
1980 Suzuki GS 1100E
1983 Honda CB 1100F
1984 Honda Sabre 700
1984 Honda Interceptor 1000
1990 Moto Guzzi 1000
1994 Kawasaki ZG 1000 Concours
And more
1974 Honda CB 550 K0
1975 Honda CB 400F Super Sport
1977 Kawasaki KZ 1000 LTD
1978 Kawasaki KL 250
1980 Suzuki GS 1100E
1983 Honda CB 1100F
1984 Honda Sabre 700
1984 Honda Interceptor 1000
1990 Moto Guzzi 1000
1994 Kawasaki ZG 1000 Concours
And more
The following user(s) said Thank You: sf4t7, Wookie58
Please Log in or Create an account to join the conversation.
- sf4t7
-
- Away
- Sustaining Member
-

Registered
- Posts: 949
- Thanks: 775
Re: 1979 KZ400H Progress
12 Aug 2023 12:43
Scotty
1974 Z1A
Yoshimura 987, 10.25:1
welded Z1 crank
Andrews 1X Cams
Delkevic 4 into 1
Superbike bars
530 conversion
1974 Z1A
Yoshimura 987, 10.25:1
welded Z1 crank
Andrews 1X Cams
Delkevic 4 into 1
Superbike bars
530 conversion
Please Log in or Create an account to join the conversation.
Moderators: Street Fighter LTD
