Kz440 sputtering when leaving idle
- marypsi
-
Topic Author
- Offline
- User
-

Registered
- Posts: 7
- Thanks: 0
Kz440 sputtering when leaving idle
11 Oct 2017 17:46
Hi everyone. I'm wondering if you all can help troubleshoot this:
I have a 1982 KZ440 Ltd. I just cleaned the carbs and put new parts in, but it's having this issue where it sputters when leaving idle. I have to really give it gas to kind of coax it into taking off, or else the engine will shut off. Let me list the new and replaced things to give you a better idea:
-Cleaned carbs
-New carb gaskets
-New peacock gasket
-New float needles
-New pilot screws/springs
-New spark plugs
-New/charged battery
-oil changed/new filter o-rings
-New foam in air filter
Thank you!
I have a 1982 KZ440 Ltd. I just cleaned the carbs and put new parts in, but it's having this issue where it sputters when leaving idle. I have to really give it gas to kind of coax it into taking off, or else the engine will shut off. Let me list the new and replaced things to give you a better idea:
-Cleaned carbs
-New carb gaskets
-New peacock gasket
-New float needles
-New pilot screws/springs
-New spark plugs
-New/charged battery
-oil changed/new filter o-rings
-New foam in air filter
Thank you!
1982 kz440 ltd, belt drive, named "Isabella"
Please Log in or Create an account to join the conversation.
- JR
-
- Offline
- Sustaining Member
-

Registered
- Posts: 2962
- Thanks: 480
Re: Kz440 sputtering when leaving idle
12 Oct 2017 07:52 - 13 Oct 2017 06:23
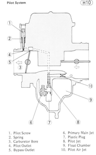
My suggestion would be a blockage at 5 in the diagram below. Pilot bypass and sometimes called transition holes. Important when going from idle up. I had a stutter one time at about 2500 rpm this was the cause.
You'll need to take the carbs off and operate the throttle linkage and get the throttle butterfly/flap to move and look for 3 tiny holes in the upper carb bore. I used a fine pin bent at 90 degrees or a guitar string to gently poke the holes.
You should be able to squirt carb cleaner in the pilot jet and see it come out at 5. If you have extra hand you could block at 6 and 10 while doing thisbut watch out as carb cleaner coming back at your eyes is very dangerous not to mention painful so wear safety glasses.
Good luck
Carb diagram taken from kz440 manual
You'll need to take the carbs off and operate the throttle linkage and get the throttle butterfly/flap to move and look for 3 tiny holes in the upper carb bore. I used a fine pin bent at 90 degrees or a guitar string to gently poke the holes.
You should be able to squirt carb cleaner in the pilot jet and see it come out at 5. If you have extra hand you could block at 6 and 10 while doing thisbut watch out as carb cleaner coming back at your eyes is very dangerous not to mention painful so wear safety glasses.
Good luck
Carb diagram taken from kz440 manual
1980 kz750E1, Delkevic exhaust
Last edit: 13 Oct 2017 06:23 by JR.
Please Log in or Create an account to join the conversation.
- kevski
-
- Offline
- User
-

Registered
- Posts: 453
- Thanks: 174
Re: Kz440 sputtering when leaving idle
12 Oct 2017 08:39
Strip the carbs again and sonic clean them, once done blow out with air, don't use pins or bits of wire in any of the small passages as you can cause damage that you will never be able to repair, put back together and make sure there are no leaks at the inlet manifolds and at the connections with the air box.
Please Log in or Create an account to join the conversation.
- vwrabbit
-
- Offline
- User
-

Registered
- Posts: 57
- Thanks: 11
Re: Kz440 sputtering when leaving idle
13 Oct 2017 06:07
I agree with another strip down and thorough cleaning. I had problems w/mine and torn them down 3 times before they were fully cleaned out. The pilot passages are the most important to be sure they are clean.
1982 KZ440 former LTD
1975 CB125S
2006 VT600 VLX
1975 CB125S
2006 VT600 VLX
Please Log in or Create an account to join the conversation.
Moderators: Street Fighter LTD
