KZ 750 4 stumble
- DBINWI
-
Topic Author
- Offline
- User
-

Registered
- Posts: 17
- Thanks: 0
KZ 750 4 stumble
23 Feb 2017 09:35
Old age has caused me to downsize. Picked up a 1982 KZ-750 4 cyl last fall- Love the bike with exception of the following
From a standing start the motor seems to be leaning out- poor power until 3000 Rpms- Bike is strong runner above that rpm. This is also a problem when riding at speed and rounding turns and accelerating out of turns unless Rpms are kept above 3500 or so.
Any ideas would be appreciated?
P S The carb intake boots seem to be in good condition
From a standing start the motor seems to be leaning out- poor power until 3000 Rpms- Bike is strong runner above that rpm. This is also a problem when riding at speed and rounding turns and accelerating out of turns unless Rpms are kept above 3500 or so.
Any ideas would be appreciated?
P S The carb intake boots seem to be in good condition
Please Log in or Create an account to join the conversation.
- Patton
-
- Offline
- KZr Legend
-

Registered
- Posts: 18567
- Thanks: 2103
Re: KZ 750 4 stumble
23 Feb 2017 10:04
Couple of possibilities come to mind.
Imperfect pilot circuit (needs cleaning);
Too tight valve clearance.
Symptoms of marginally too tight valve clearance are usually worse at lower rpms.
Good Fortune!
Imperfect pilot circuit (needs cleaning);
Too tight valve clearance.
Symptoms of marginally too tight valve clearance are usually worse at lower rpms.
Good Fortune!
1973 Z1
KZ900 LTD
KZ900 LTD
Please Log in or Create an account to join the conversation.
- JR
-
- Offline
- Sustaining Member
-

Registered
- Posts: 2963
- Thanks: 481
Re: KZ 750 4 stumble
23 Feb 2017 15:24 - 23 Feb 2017 16:09
Just to add to Pattons post
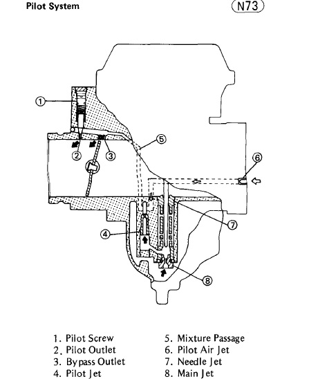
When I bought my 1980 750/4 several years ago I had a persistant stumble at about 2500 - 3000rpm. To make a long story short it turned out to be dirt at the pilot bypass. See #3 in the attached schematic. If you think this might be your problem then look for 3 tiny holes at the indicated location just behind the throttle butterlfy and poke them out with a fine needle or bent @ 90 degree guitar string and do the spray procedure which Patton describes above.
Wear eye protection
Good luck
When I bought my 1980 750/4 several years ago I had a persistant stumble at about 2500 - 3000rpm. To make a long story short it turned out to be dirt at the pilot bypass. See #3 in the attached schematic. If you think this might be your problem then look for 3 tiny holes at the indicated location just behind the throttle butterlfy and poke them out with a fine needle or bent @ 90 degree guitar string and do the spray procedure which Patton describes above.
Wear eye protection
Good luck
1980 kz750E1, Delkevic exhaust
Last edit: 23 Feb 2017 16:09 by JR.
Please Log in or Create an account to join the conversation.
Moderators: Street Fighter LTD
