1976 Kz 900 A4
- DOHC
-
- Offline
- Sustaining Member
-

Registered
- Those Doe-Hawks really go!
- Posts: 1272
- Thanks: 596
Re: 1976 Kz 900 A4
22 Feb 2021 10:41 - 22 Feb 2021 10:41
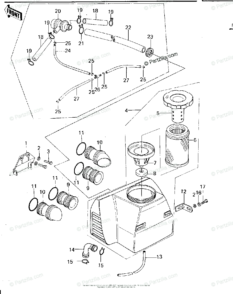
I'll be honest and say that I've never put an airbox on a KZ1000, but I have the parts and am planning to do it. My impression is that it just rests on the little stay bracket and is not bolted to anything but the carbs. My KZ650 box had mounting tabs and bolts, but the KZ1000 does not have any visible mount points, and the diagram for the kz900 looks pretty similar.
'78 Z1-R in blue
, '78 Z1-R in black,
'78 Z1-R in pieces
My dad's '74 Z1
'00 ZRX1100
My dad's '74 Z1
'00 ZRX1100
Last edit: 22 Feb 2021 10:41 by DOHC.
Please Log in or Create an account to join the conversation.
- hardrockminer
-
- Offline
- Sustaining Member
-

Registered
- Posts: 3123
- Thanks: 1222
Re: 1976 Kz 900 A4
22 Feb 2021 10:46
A Z1 airbox just rests on a stay. The purpose is to take weight off the carbs to prevent cracking of the intake boots. There is really no place for the box to go as it's jammed in pretty good.
I have several restored bikes along with a 2006 Goldwing with a sidecar.
The following user(s) said Thank You: Mikaw
Please Log in or Create an account to join the conversation.
- Mikaw
-
Topic Author
- Offline
- Sustaining Member
-

Registered
- Posts: 4833
- Thanks: 1852
Re: 1976 Kz 900 A4
22 Feb 2021 11:04hardrockminer wrote: A Z1 airbox just rests on a stay. The purpose is to take weight off the carbs to prevent cracking of the intake boots. There is really no place for the box to go as it's jammed in pretty good.
Thank you. Any comments on the filter material in the drain cap?
1976 KZ 900 A4
kzrider.com/forum/11-projects/613548-1976-kz-900-a4
1976 KZ 900 B1 LTD
1978 KZ 1000 B2 LTD
1980 KZ 750 E1
Kowledge Speaks, But Wisdom Listens.
Jimi Hendrix.
1976 KZ 900 B1 LTD
1978 KZ 1000 B2 LTD
1980 KZ 750 E1
Kowledge Speaks, But Wisdom Listens.
Jimi Hendrix.
Please Log in or Create an account to join the conversation.
- Kaylinator
-
- Offline
- Sustaining Member
-

Registered
- Posts: 342
- Thanks: 74
Re: 1976 Kz 900 A4
22 Feb 2021 11:53
Yup. Just sits there. That stay bracket is attached to the frame. Basically just a bigger space for the airbox to rest. If you want to get technical, the airbox IS secured to the bike, by having it clamped to the silencer, which in turn is attached to the frame.
Was you discover the joys of installing a carburetor rack with the airbox installed, you'll understand that there's no where for it to go.
Fairly certain mine has no filter material. That was probably to keep the critters out.
This is the best photo I have of that stay bracket. Honestly, probably could do without if it's missing.
Was you discover the joys of installing a carburetor rack with the airbox installed, you'll understand that there's no where for it to go.
Fairly certain mine has no filter material. That was probably to keep the critters out.
This is the best photo I have of that stay bracket. Honestly, probably could do without if it's missing.
1978 KZ1000-A2
kzrider.com/forum/11-projects/613296-1978-kz1000-a2-barn-find
1978 KZ400-B1
2022 Z900RS SE
kzrider.com/forum/11-projects/613296-1978-kz1000-a2-barn-find
1978 KZ400-B1
2022 Z900RS SE
The following user(s) said Thank You: Mikaw
Please Log in or Create an account to join the conversation.
- Mikaw
-
Topic Author
- Offline
- Sustaining Member
-

Registered
- Posts: 4833
- Thanks: 1852
Re: 1976 Kz 900 A4
25 Feb 2021 15:43
Need help locating spark plug boots. I need angled boots for 1-4 coil. All I can find is NGK and they are not correct. As a matter of fact the number 4 plug wire has an NGK on it now, the OEM is brittle and broke in pieces when I tried to remove the plug cap grommet. So I need leads on NOS or nice OEM 90 degree plug caps. Part number 21160-1014.
1976 KZ 900 A4
kzrider.com/forum/11-projects/613548-1976-kz-900-a4
1976 KZ 900 B1 LTD
1978 KZ 1000 B2 LTD
1980 KZ 750 E1
Kowledge Speaks, But Wisdom Listens.
Jimi Hendrix.
1976 KZ 900 B1 LTD
1978 KZ 1000 B2 LTD
1980 KZ 750 E1
Kowledge Speaks, But Wisdom Listens.
Jimi Hendrix.
Please Log in or Create an account to join the conversation.
- ghostdive
-
- Offline
- User
-

Registered
- Posts: 391
- Thanks: 120
Re: 1976 Kz 900 A4
26 Feb 2021 06:50
1982 KZ750 Spectre - 6 speed swap, BS34s, 18" rear wheel
2001 ZX-6R
2001 ZX-6R
Please Log in or Create an account to join the conversation.
- BCScott
-
- Offline
- Sustaining Member
-

Registered
- Posts: 234
- Thanks: 100
Re: 1976 Kz 900 A4
26 Feb 2021 07:59
I've never dealt with them before, but these guys let me add them to my cart Kawasaki OEM
www.lawnmowerpros.com/detail.asp?id=21160-1014
Back in the saddle and loving it! KZ1000A1
Please Log in or Create an account to join the conversation.
- Kaylinator
-
- Offline
- Sustaining Member
-

Registered
- Posts: 342
- Thanks: 74
Re: 1976 Kz 900 A4
26 Feb 2021 08:48BCScott wrote: I've never dealt with them before, but these guys let me add them to my cart Kawasaki OEM www.lawnmowerpros.com/detail.asp?id=21160-1014
So random.
1978 KZ1000-A2
kzrider.com/forum/11-projects/613296-1978-kz1000-a2-barn-find
1978 KZ400-B1
2022 Z900RS SE
kzrider.com/forum/11-projects/613296-1978-kz1000-a2-barn-find
1978 KZ400-B1
2022 Z900RS SE
Please Log in or Create an account to join the conversation.
- Mikaw
-
Topic Author
- Offline
- Sustaining Member
-

Registered
- Posts: 4833
- Thanks: 1852
Re: 1976 Kz 900 A4
26 Feb 2021 09:23BCScott wrote: I've never dealt with them before, but these guys let me add them to my cart Kawasaki OEM www.lawnmowerpros.com/detail.asp?id=21160-1014
Great find thank you. I sent them an email requesting availability. I’ll report if it was successful
1976 KZ 900 A4
kzrider.com/forum/11-projects/613548-1976-kz-900-a4
1976 KZ 900 B1 LTD
1978 KZ 1000 B2 LTD
1980 KZ 750 E1
Kowledge Speaks, But Wisdom Listens.
Jimi Hendrix.
1976 KZ 900 B1 LTD
1978 KZ 1000 B2 LTD
1980 KZ 750 E1
Kowledge Speaks, But Wisdom Listens.
Jimi Hendrix.
Please Log in or Create an account to join the conversation.
- 750 R1
-
- Offline
- User
-

Registered
- Posts: 1160
- Thanks: 389
Re: 1976 Kz 900 A4
26 Feb 2021 13:55
[quote="Kaylinator" post=844131
So random.[/quote]
I found wheel bearings, for a wheel swap I have planned, from a race cart website quite by accident, was the only place that had the bearings I needed. Sometimes random is what's needed....
So random.[/quote]
I found wheel bearings, for a wheel swap I have planned, from a race cart website quite by accident, was the only place that had the bearings I needed. Sometimes random is what's needed....
Please Log in or Create an account to join the conversation.
- Mikaw
-
Topic Author
- Offline
- Sustaining Member
-

Registered
- Posts: 4833
- Thanks: 1852
Re: 1976 Kz 900 A4
26 Feb 2021 17:26
Well not sure what happened but this evening I checked the Lawnmower Pro site and now the plug cap is NLA. Earlier this afternoon it was listed, I even remember seeing the price listed as around $27.00 dollars... I’d hate to think that someone saw this listing and bought them out from under me.
1976 KZ 900 A4
kzrider.com/forum/11-projects/613548-1976-kz-900-a4
1976 KZ 900 B1 LTD
1978 KZ 1000 B2 LTD
1980 KZ 750 E1
Kowledge Speaks, But Wisdom Listens.
Jimi Hendrix.
1976 KZ 900 B1 LTD
1978 KZ 1000 B2 LTD
1980 KZ 750 E1
Kowledge Speaks, But Wisdom Listens.
Jimi Hendrix.
Please Log in or Create an account to join the conversation.
- hardrockminer
-
- Offline
- Sustaining Member
-

Registered
- Posts: 3123
- Thanks: 1222
Re: 1976 Kz 900 A4
27 Feb 2021 09:10
More than likely they were out of stock but hadn't updated their website.
I have several restored bikes along with a 2006 Goldwing with a sidecar.
Please Log in or Create an account to join the conversation.
Moderators: Street Fighter LTD
